There is an overlooked and extremely powerful alternative energy source that is renewable and that has been available since at least the formation of salt water oceans: the electrostatic fields of like-charged solute ions. Capacitive deionization relies on carbon aerogel or nanofoam having a surface area of 400 square meters/ gram to attract sodium and chlorine ions to the cathode and anode respectively by applying a voltage of about 1.5 VDC across the anode and cathode. By first physically isolating at least two anodes and two cathodes during charge accumulation, at least two positive monopoles and two negative monopoles are created. Positive/negative monopoles are formed by the enclosure of the cathodes/anodes by an electrically conductive material surrounding the sodium/chlorine ions. At least five or six like charged monopoles are created. At least four of the like charged monopoles (all negative or all positive) can be arranged on a disc. At least one stationary monopole of the same charge is placed adjacent to the disc and positioned so that a repulsive electric field is formed between the stationary monopole and at least one of the monopoles positioned on the disc so that the disc is then forced to rotate a shaft at the center of the disc. The Coulomb force between the monopoles is given by Coulomb's Law, i.e.,
F = (k/?)[(q1)(q2)/(r2)] (1)
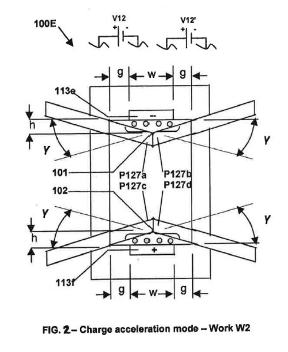
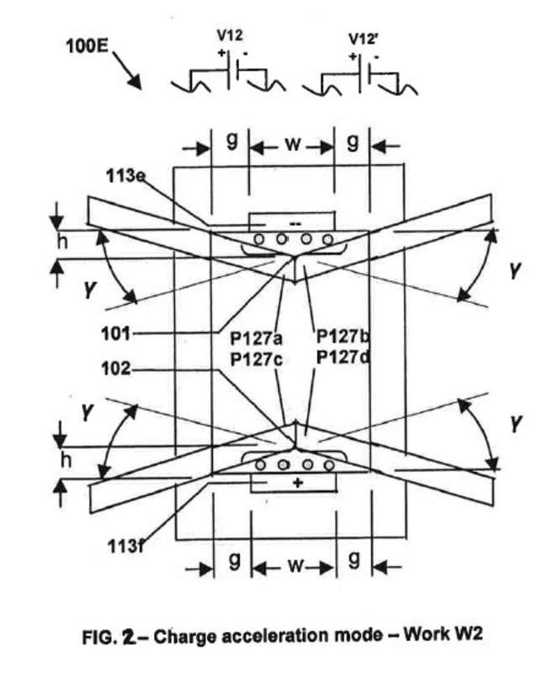
where k = 9E+09 Newtons-meter2/coul2, q1 and q2 are the charge in coulombs, r is the distance between the charges in meters and ? = 75-81 dielectric constant assuming water between the charges (more likely air having ? = 1). Only a very small amount of charge in each monopole is required, i.e., 10 millicoulombs, (less than a milligram) to provide a force of about 44,000 Newtons (almost 10,000 lbs) if monopoles are separated by 0.5 meters (assuming this equation for Coulomb’s Law for this application is directly applicable without modification-this may not be the case). (For air, the force would be multiplied by 75-81). The motor may be applied to replace internal combustion engines in automobiles, or powering reverse osmosis pumps for desalination, up to replacing steam turbines in central station power plants to generate electricity practically with no carbon emissions or safety hazards to the public. In a related approach, solute ions are accelerated by an electrostatic field from solute ions collected on electrodes +,-. Using an orthogonal electric field, partition electrodes are closed to capture like charged ions. Polarity is reversed via a transverse (longitudinal) electric field. Linear alignment of ions results in vector alignment of Coulomb forces to create an ion jet for propulsion or particle acceleration. The result is ionic marine propulsion and a possible ionic jet engine that obtains propulsion energy from Coulomb repulsion forces of homopolar separated charge. No combustion or jet fuel is required. This process may also generate large quantities of hydrogen and oxygen by splitting of water and eject solute ions from the water for brine purfication. Details are available in WO 2008/024927 A2 Ref. [1].
Like this entry?
-
About the Entrant
- Name:Anthony Fresco
- Type of entry:individual
- Software used for this entry:No software currently capable of accurate analysis
- Patent status:pending


