This study presents a groundbreaking Dual Adaptive Propeller System designed to overcome the inherent limitations of current propulsion technologies in UAM and VTOL applications through innovative thrust modulation and aerodynamic control mechanisms.
As urban air mobility (UAM) and vertical take-off and landing (VTOL) systems evolve, propulsion technologies must adapt to the demands of compact designs, agile maneuverability, and energy-efficient operation. This study introduces a novel Dual Adaptive Propeller System engineered to deliver enhanced thrust modulation and aerodynamic control via integrated adaptive ring geometries and retractable external modules, addressing the limitations of conventional propeller designs and turbofan architectures in low-altitude urban environments.
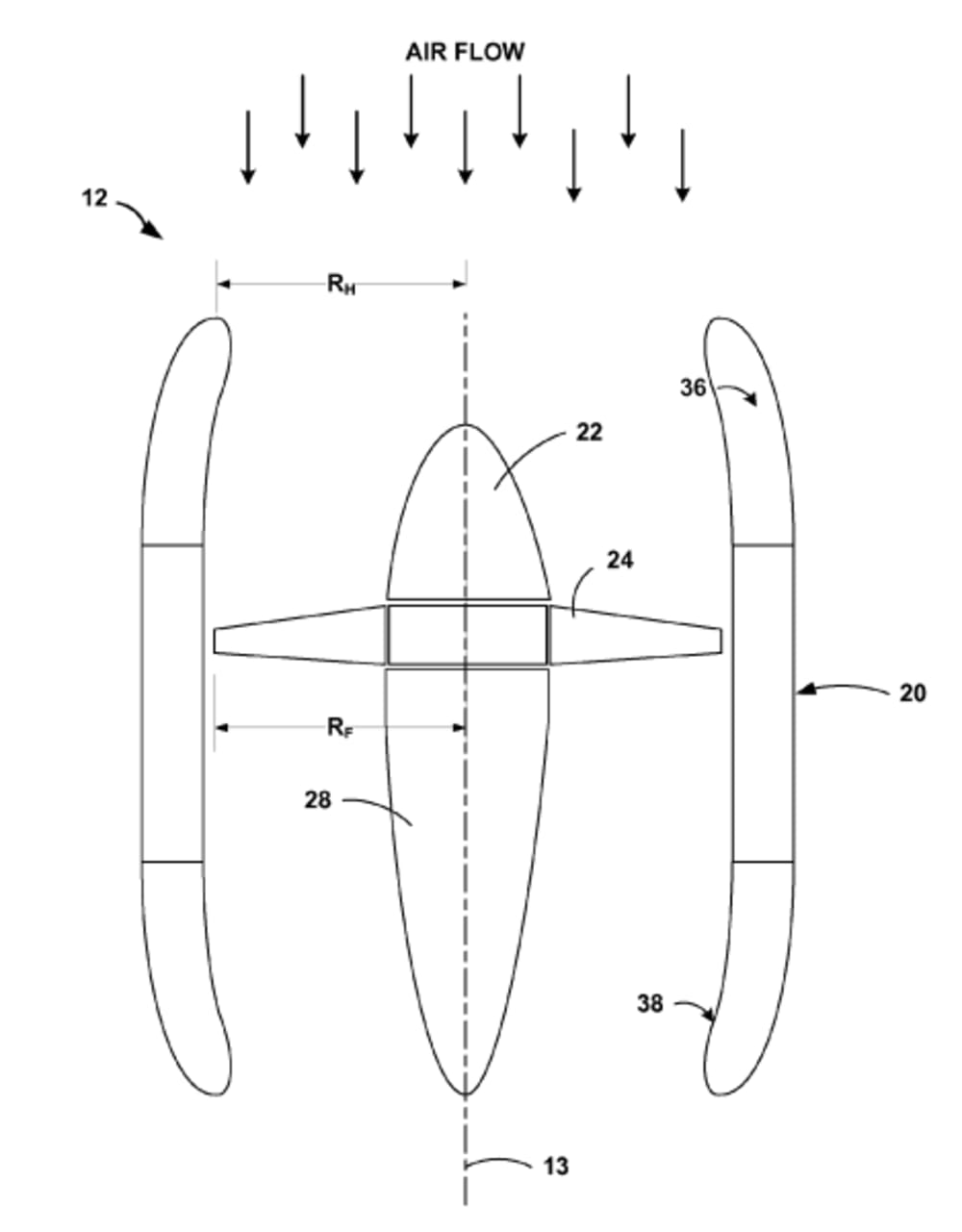
Unlike static blade arrangements and fixed hub assemblies, the proposed system leverages telescopic concentric ducting and ring-based petal extensions that morph in response to the flight regimes. The adaptive ring geometry allows for real-time modulation of the duct diameter and flow vector orientation, improving pressure recovery and minimizing tip vortices during the hover and cruise phases. Meanwhile, retractable petal modules, stowed compactly during low-thrust operations, are deployed to augment blade exposure and redirection of airflow, effectively increasing net thrust without expanding the system footprint. This dual configuration enhances lift during take off and vertical climbs while streamlining thrust during cruise, making it ideal for next-generation VTOLs. The proposed Dual Adaptive Propeller System incorporates retractable external modules—specifically petal-like extensions situated around the propeller duct periphery. During high-thrust phases, these modules deploy to guide ambient airflow toward the blade root, reducing stagnation zones and enhancing pressure recovery. Their dynamic deployment increases mass flow rate and stabilizes vortex interactions, boosting overall thrust output without increasing blade count or RPM.
Complementing this is the Adaptive Ring Geometry, a telescopic concentric duct mechanism capable of contracting and expanding in real time. In hover mode or vertical lift, the ring extends outward, enlarging the duct area to maximize entrainment and airflow redirection, thus amplifying static thrust. During cruise, the ring contracts, reducing drag and recentering the flow profile for efficient forward motion. The shape-memory alloy or servo-actuated segments ensure smooth morphing, with rapid responsiveness to throttle inputs and aerodynamic demands.
This dynamic interplay between external airflow modules and ring modulation creates a thrust-scaling system that adjusts to environmental and flight conditions. Unlike static propeller architectures, this configuration delivers thrust augmentation, noise mitigation, and energy-efficient operation through intelligent aerodynamic shaping—paving the way for versatile eVTOL platforms tailored for urban and regional mobility.
Compared with legacy propeller systems, which rely heavily on fixed-pitch blades and non-variable ducts, this architecture offers multimodal efficiency, thrust scalability, and aerodynamic adaptability. Its modularity supports integration with hybrid-electric powertrains and lends itself to scalable platforms, from drones to regional air taxis.
Moreover, the innovation behind this design not only marks a leap in aerospace technology but also aligns seamlessly with strategic initiatives like India's 'Make in India', promoting indigenous development and reducing reliance on complex jet propulsion systems.
Like this entry?
-
About the Entrant
- Name:Abhay Dash
- Type of entry:teamTeam members:
- ABHAY DASH
- DHEERAJ REDDY
- Software used for this entry:FUSION 360
- Patent status:pending

