As it is widely known, a Rankine cycle is a closed-circuit thermodynamic cycle whose specific feature is to involve a phase change (liquid/vapor) of a working fluid (WF). My invention relates to a novel concept, RABEI ENERGETIC CYCLES (REC), whose specific feature is to NOT INVOLVE PHASE CHANGE of the WF, with reference to a first application: TRIGENERATIVE ENERGETIC INSTALLATION (patented).
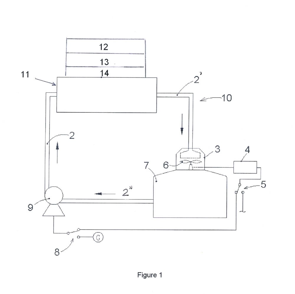
Figure 1 is a schematic diagram of an REC (circuit 10-basic variant), according to a FUNDAMENTAL PRINCIPLE, and comprises the main components:
-ELECTROHYDRAULIC PUMP STATION (EHPS) 9,
-HIGH PRESSURE CHAMBERS with various geometries and various arrangements to constitute the so called HIGH PRESSURE CHAMBERS ASSEMBLY (HPCA) 11; each high pressure chamber is filled with the WF and is provided with the:
-APPLICATORS,which can be of various types (inductive, resistive, electromagnetic, magnetohydrodynamic and so on) and which are activated by:
-ELECTROTECHNICAL EQUIPMENT such as a rechargeable power supply (RPS) 12, a generating unit(s)(GU) 13, and an applicators connections assembly (ACA) 14,
-HYDRAULIC MACHINE(S) which can be of any adequate type for the WF and can be provided at outlet with a pressure enhancer,
-ELECTRIC GENERATOR(S) (EG) 4 coupled to the HYDRAULIC MACHINE (HM) 6, necessary to supply electric current for feeding the RPS (or the GU), the EHPS, the cooling system, and various external consumer,
-UNIVERSAL CONVERTERS (not shown),
-LIQUID COOLER (LC) 7 which is swept by a cold fluid,
-A LOW PRESSURE FEEDING RESERVOIR (not shown),
-ADVANCED CONTROL-COMMAND SYSTEM (not shown),
-VALVES ASSEMBLY (VA) (not shown).
For simplification reasons in the rest of the description, liquid water(LW) is proposed as WF in the circuit. Any other adequate liquid can, however, be used. Under normal operating conditions, the LW circulates in the circuit 10 in a clockwise motion, as following (FUNDAMENTAL PRINCIPLE):
I-THE CYCLE BEGINS WITH INCREASING THE PRESSURE OF THE LW IN THE HPCA 11 BY THE ACTION AND THE EFFECT (LOW HEATING-HIGH PRESSURE) OF THE APPLICATORS ACTIVATED BY THE RPS via GU and ACA (12+13+14),
II-FROM THE HPCA 11,THE HIGH PRESSURE LW (UP TO 500 bars, for
example) TRAVELS THROUGH A VA AND THROUGH A CONDUIT 2', ENTERS INTO HM 6 (AT A TEMPERATURE UP TO 100 DEGREES CELSIUS AND AT A PRESSURE UP TO 450 bars, for example), AND IS DISCHARGED INTO A LOW PRESSURE LW GREATER THAN THE ATMOSPHERIC PRESSURE. FOR VARIOUS VOLUMETRIC FLOW RATES AND VARIOUS DIFFERENTIAL PRESSURE ON THE HM 6, HYDRAULIC POWER IS GENERATED, THEN ELECTRIC POWER IS GENERATED, AND MECHANICAL POWER CAN BE GENERATED.
III-DISCHARGED LW FROM THE HM 6 PROCEEDS THROUGH LC 7 PROVIDED WITH A COOLING MEDIA. UPON LEAVING THE LC 7 (AT A TEMPERATURE UP TO 90 CELSIUS DEGREES AND AT A PRESSURE GREATER THAN THE ATMOSPHERIC PRESSURE, for example), THE LW THEN PROCEEDS THROUGH CONDUIT 2" TO THE EHPS 9 WITH ELECTRIC SUPPLY FROM THE EG 4.
IV-UPON LEAVING THE EHPS 9 AT A LOW OR MEDIUM PRESSURE (UP TO 100 bars, for example),THE LW PROCEEDS THROUGH CONDUIT 2' AND THROUGH a VA TO THE HPCA 11, THEN THE HIGH PRESSURE CHAMBERS ARE FILLED WITH THE LW AND THE CYCLE IS REPEATED.
Like this entry?
-
About the Entrant
- Name:Rabei Romulus
- Type of entry:individual
- Software used for this entry:ANSYS MULTIPHYSICS
- Patent status:patented
