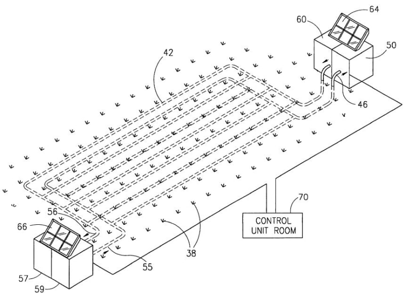
THE CONCEPT IS SIMPLE: WE USE SOLAR POWER TO PRODUCE ENERGY TO CHILL WATER IN A WATER TANK TO BELOW DEW POINT. FROM THE TANK, THE CHILLED WATER FLOWS IN A CLOSED CYCLE (WITH THE HELP OF A SMALL PUMP) IN BLIND PIPES, PLACED IN PARALLEL NEAR THE PLANTS, ON THE SOIL AND NEAR THE ROOTS, TO PRODUCE CONDENSATION ON THE SURFACE OF THE PIPES, PERODUCED DUE TO THE TEMP. DIFFERNCES BETWEEN THE COLD WATER IN THE PIPES AND THE HOT AND HUMID ENVIRONMENT DURING THE SUMMER. IT IS A SIMILAR EFFECT AS SEEN ON ICE COFFEE CUP DURING THE SUMMER WITH THE PUDDLE LEFT ON THE TABLE.
THE CONEDNSATE FROM THE HUMIDITY IN THE AIR ON THE PIPE'S SURFACE FLOWS BY GRAVITATION TO WATER THE ROOTS WHILE THE PIPE NEAR THE ROOTS CONDENSES THE HUMIDITY IN THE SOIL (PROPORTIONAL TO THE AIR HUMIDTY) BOTH HELPING TO CREAT A MOIST ENVIRONMENT NEAR THE ROOTS.
WHEN THE ROOTS ARE COOLED, THE EVAPORATION RATE OF FROM THE PLANT IS REDUCED DRAMATICALLY RESULTING IN LESS WATER NEEDS BY THE PLANTS AND THERFORE THE RELATIVELY LITTLE WATER FROM TEH CONDENSATE WILL ALLOW US TO PRODUCE AGRICULTURE COMPLETELY OFF WATER AND ELECTRICITY GRID, IN LOCATIONS WHERE AGRICULTURE IS NOT POSSIBLE TO DAY DUE TO LACK OF INFRASTRUCTURE OR GROUND WATER AVAILABILITY.
EXPERIEMNETS HAVE SHOWN THAT CHILLING ROOTS SHORTENS THE GROWING SEASON ALLOWING FOR MUTLIPLE CROPS TO BE GROWN DURING THE SUMMER. THE TEMP. DIFFERNCE BETWEEN THE COLD ROOT AND THE WARM SHOOT ECCELERATES NUTRITIONAL PROCESSES.
IF WE WOULD BE ABLE TO PRODUCE AN IN EXPENSIVE, STAND ALONE, CLOSED CYCLE, OFF WATER AND ELECTRICITY GRIDS IRRIGATION BY CONDENSATION WE COULD HELP ALLIVIATE MANY OF THE FOOD SHORTAGE PROBLEMS INFLICTING THE WORLD NOW.
Like this entry?
-
About the Entrant
- Name:Boaz Wachtel
- Type of entry:individual
- Software used for this entry:THE BRAIN, PEN AND PAPER
- Patent status:patented
