The purpose of the work: to increase and improve the quality of parts and assembly of gearboxes of vehicles, reduce the labor intensity and cost of manufacturing the gearbox, increase productivity in the assembly operation.
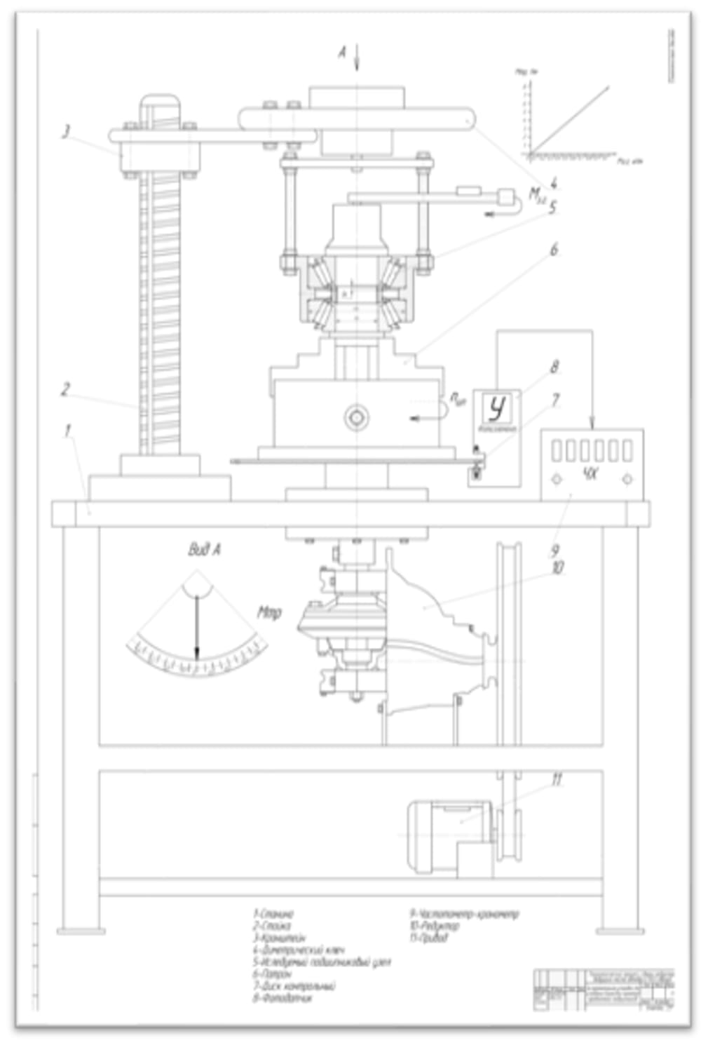
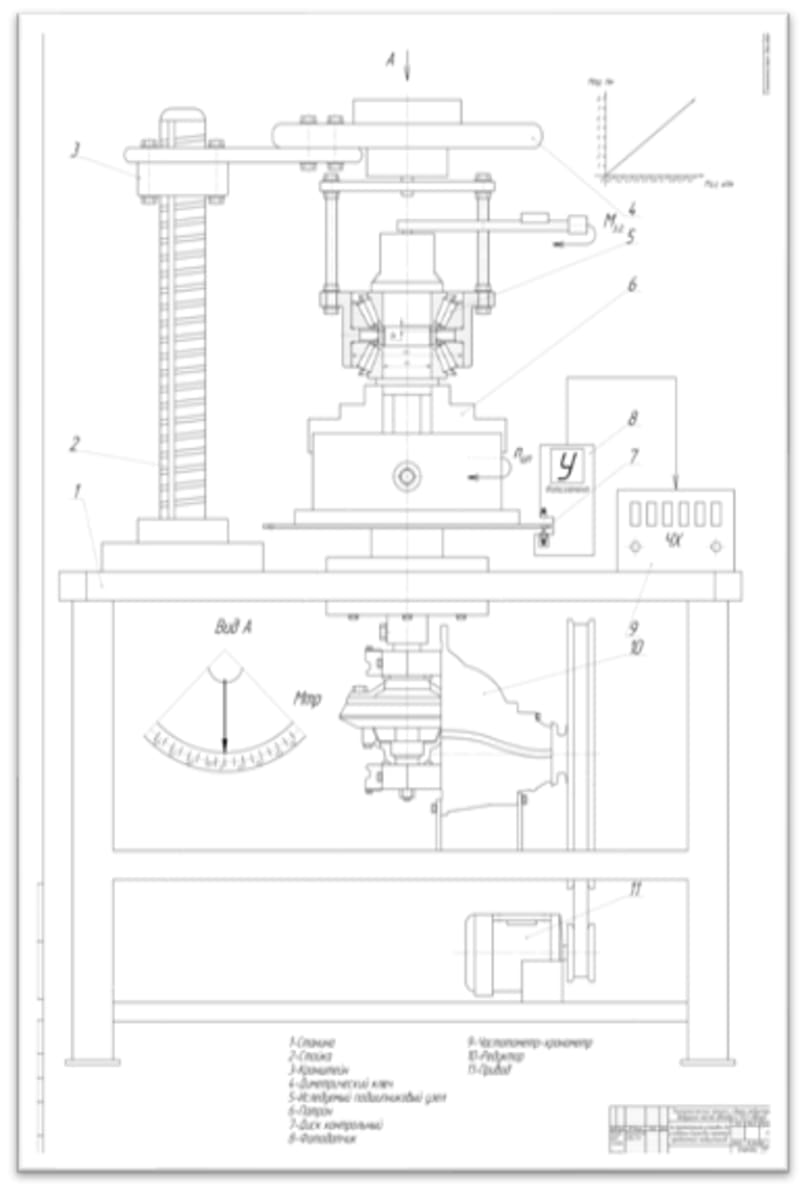
Project objective. To elaborate: the base table for mounting of all equipment, drive rotation, the bearing support for clamping the chuck, spindle assembly for securing the test site, stand for securing the device to control torque, the system of fixing the device to control the friction torque from the test duplexity bearing assemblies, the system of control number of revolution of the spindle.
Preload is one of the most important parameters that determine the reliability and durability of any structure. Preload is created during the process of duplexing bearings.
Duplication of bearing units can be of 3 types:
By selecting a step compensator
Smooth duplication due to the use of deformed elements (bushings)
Duplication by means of a threaded connection on the shaft shank of the bearing Assembly.Preload of bearings in machine units is controlled by the moment of friction in the bearings. Rolling bearings in various units are installed with a gap, without a gap or with a preload, depending on the design features, operating conditions and installation requirements of this type of bearing. The magnitude of the required clearance or preload depends on the bearing size, the operating mode of the node, the fluctuation range of the operating temperature of the node, the degree of accuracy of machining the mating with the bearing parts, and precision of manufacturing these bearings.
This development allows you to:
1. Improve the build quality of vehicle gearboxes.
2. Reduce the labor intensity and cost of manufacturing the gearbox.
3. To improve the performance of the assembly operation.
Like this entry?
-
About the Entrant
- Name:Anastasia Samoilova
- Type of entry:teamTeam members:Alexander Vasiliev, Igor Bulavin, Anastasia Samoilova
- Software used for this entry:no
- Patent status:none


