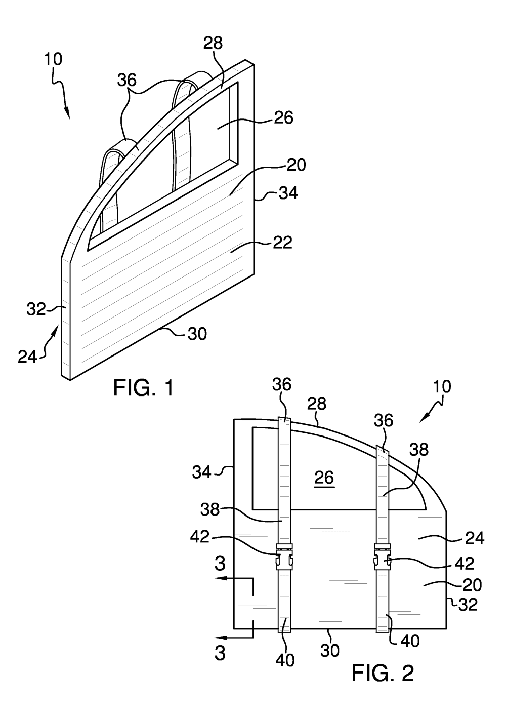
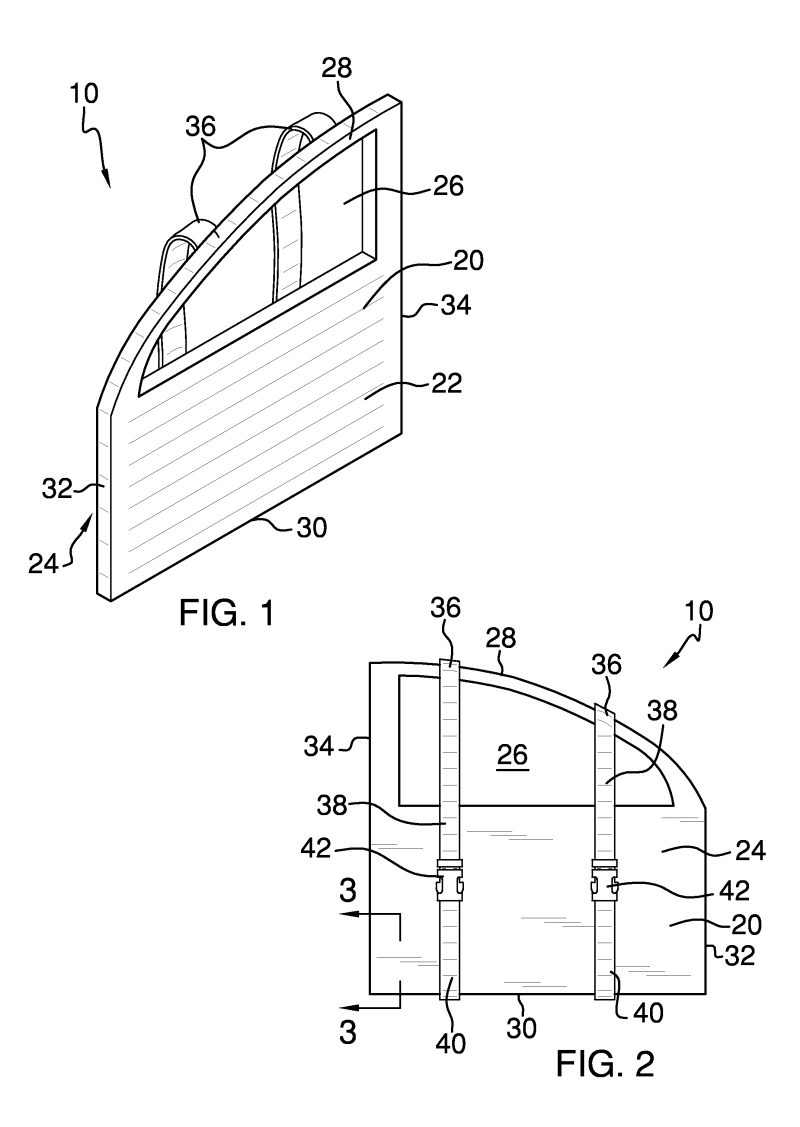
Vehicle Door Protector (patented) - as its name implies, is a simple to use device that prevents dents dings, and scratches of most types of automobiles - car, truck, van, etc...
Some of its features are: It's water-proof, lightweight, and doesn't use any magnet, but protects most parts of the vehicle exterior. This helps keep your vehicle as good as new, forever! ® ™.
My demo in YouTube video is self explanatory. Currently open to licensing. Contact: sales@autoshields.website
Video
Like this entry?
-
About the Entrant
- Name:Muthukumaran Azhagesan
- Type of entry:individual
- Patent status:patented


