The current invention refers to the field of transport and vehicles in general, and it particularly refers to windows and sun shields or anti-glare related to the windows.
More particularly, it consists of a solar protection device for vehicle windows which mobile screen, placed near the window pane, can ascend and descend along the aperture of the mentioned window, up to the point that the solar protection area reaches an appropriate position in which it protects the interior of the vehicle.
As it is known, one of the difficulties which affects vehicle passengers and specially drivers themselves, is the incidence of solar radiation.
These problems are particularly relevant in the case of the vehicle drivers since solar radiation could produce glare. It is important to take into account that glare and reflections not only incise through the front windscreen or the rear windscreen, but they can also affect the sides through the rear and front door glasses of the vehicle.
To all this mentioned, we must add the fact that the incidence of solar radiation is not uniform and it is not even produced from a specific angle. On the contrary, its incidence and its intensity changes constantly due to factors such as direction changes in the road in which the vehicle is circulating, the time of the day, etcetera. In order to avoid these problems there are different known devices and sun shield elements which are used in the interior of the vehicle or are put onto window panes. Among the well-known of these elements there are some articulated front sun shields which can be positioned until they are located sideways in order to partially protect the driver or the passenger.
These elements have many disadvantages: in general, they are found in the front side of the vehicle, above the front windscreen, being at the disposal of just the driver and their companion, and the manoeuvres to locate or change the sun shield orientation could distract the driver and produce accidents as it moves in a way that blocks the forward vision temporally or it could also compel the driver to make distracting movements resulting in accidents.
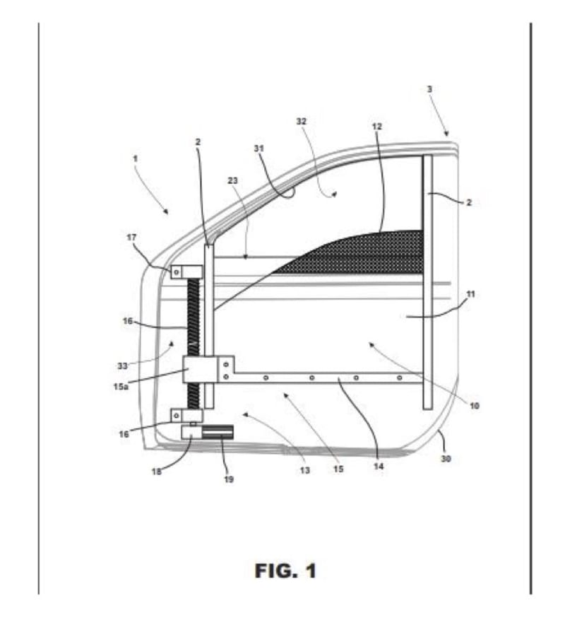
One of the advantages of the current device is that it can be installed inside the structure of the vehicle, for instance, inside the inferior cavities of the doors, under the windows.
Another advantage is that it is a device which functionality is independent of the panes from the windows so the mentioned panes can be used in any position.
Yet another advantage is that it can be manipulated as another device from the vehicle through a control circuit which ways of operation are available in any panel, console, keyboard or touchscreen in the vehicle.
Video
Like this entry?
-
About the Entrant
- Name:Alejandro Horacio Quevedo
- Type of entry:individual
- Patent status:pending
