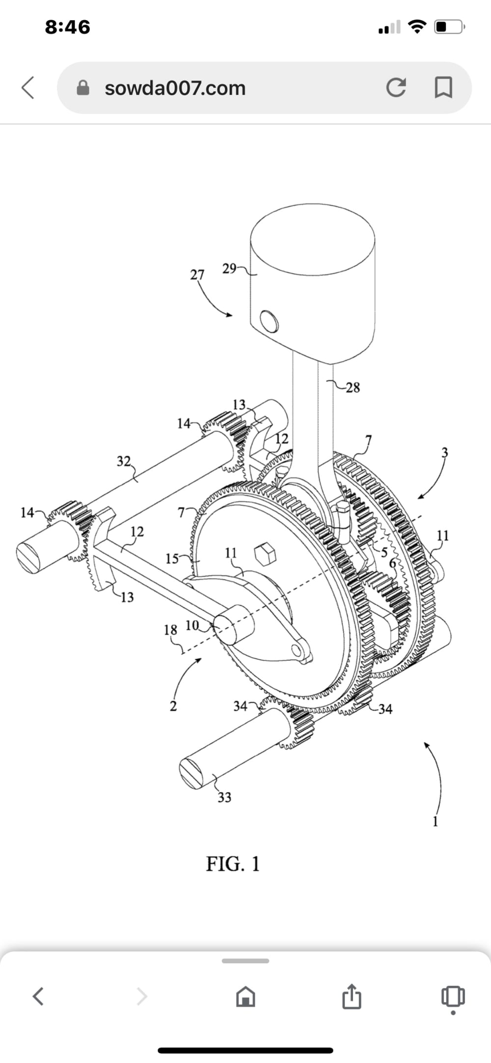
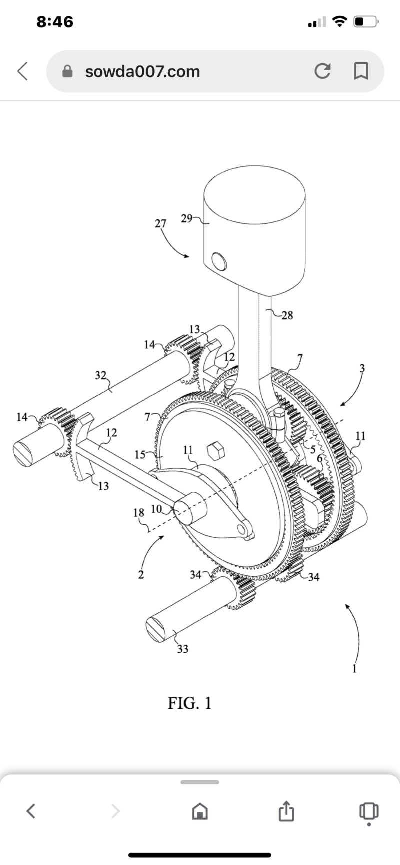
The Sowda mechanism is intended to be added to conventional internal combustion engines (ICE). By adding the Sowda mechanism to any ICE, the ICE will have the attributes of continuously variable compression (cVCR ) and true-Atkinson. The. attribute of cVCR should add 10%+ efficiency to an ICE as well as allowing for multiple fuels. The attribute of 50% true-Atkinson (50% longer power and exhaust strokes compared to the intake and compression strokes) should add 15% + efficiency to an ICE.
The intended goal of the Sowda mechanism is to improve the overall efficiency of the ICE to the point that it will be more environmentally friendly as a hybrid power generator than a battery-only electrIc vehicle (BEV).
Calculations show that a 57% efficient ICE power source in a hybrid (HEV) vehicle is more environmentally friendly over a battery only powered vehicle (BEV).
I have started building a 0.67 / 1.0 liter 2-cylinder high-efficient Sowda mechanism ICE to be used in a HEV. Presently, ARPA-e grants no assistance funds toward carbon-based fuel source engines.
Video
Like this entry?
-
About the Entrant
- Name:Mark A Sokalski
- Type of entry:individual
- Software used for this entry:None
- Patent status:patented


