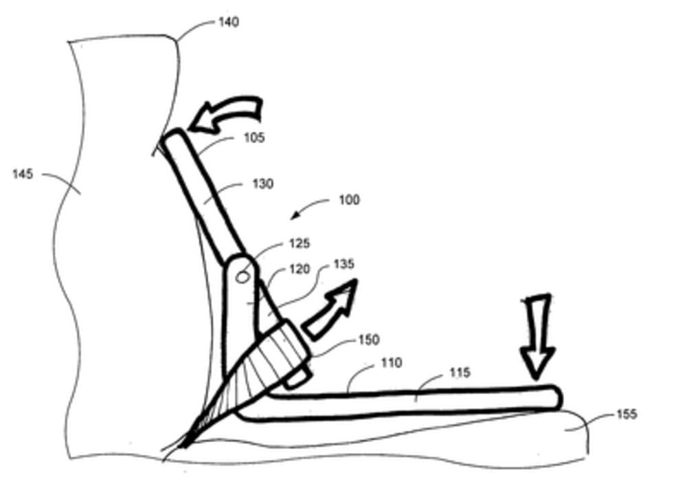
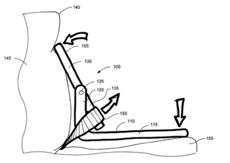
This stroller is eco-friendly made from recycled materials.Unique in the way that it is operated and the way it moves in response to its one of a kind ergonomic design with total flexibilty in mind.It also pivots on a dime because the rear wheels is operated with steering control the dual rear wheels are connected to the waist strap which makes steering exceptionally phenominal.3wheel axel that allows the front assembly to swivel and turn on a dime.The option to control with your hands will be standard on each carriage as well.This stroller is unique it rides on dual wheels,pivoting on a single point,allowing it to go in any direction the controller wishes.It also opens and closes with a single lever.The single lever is much like the arm of an manual industrial pallet jack.It's suported similarly with the dual wheels directly underneath the lever.Light weight though and with a slight bowe at the top of the lever to allow swift smooth disengagement from hands free waist attachment to the toggle,steering, handson attachment.The lever moves up down and totally steers the back dual wheels.
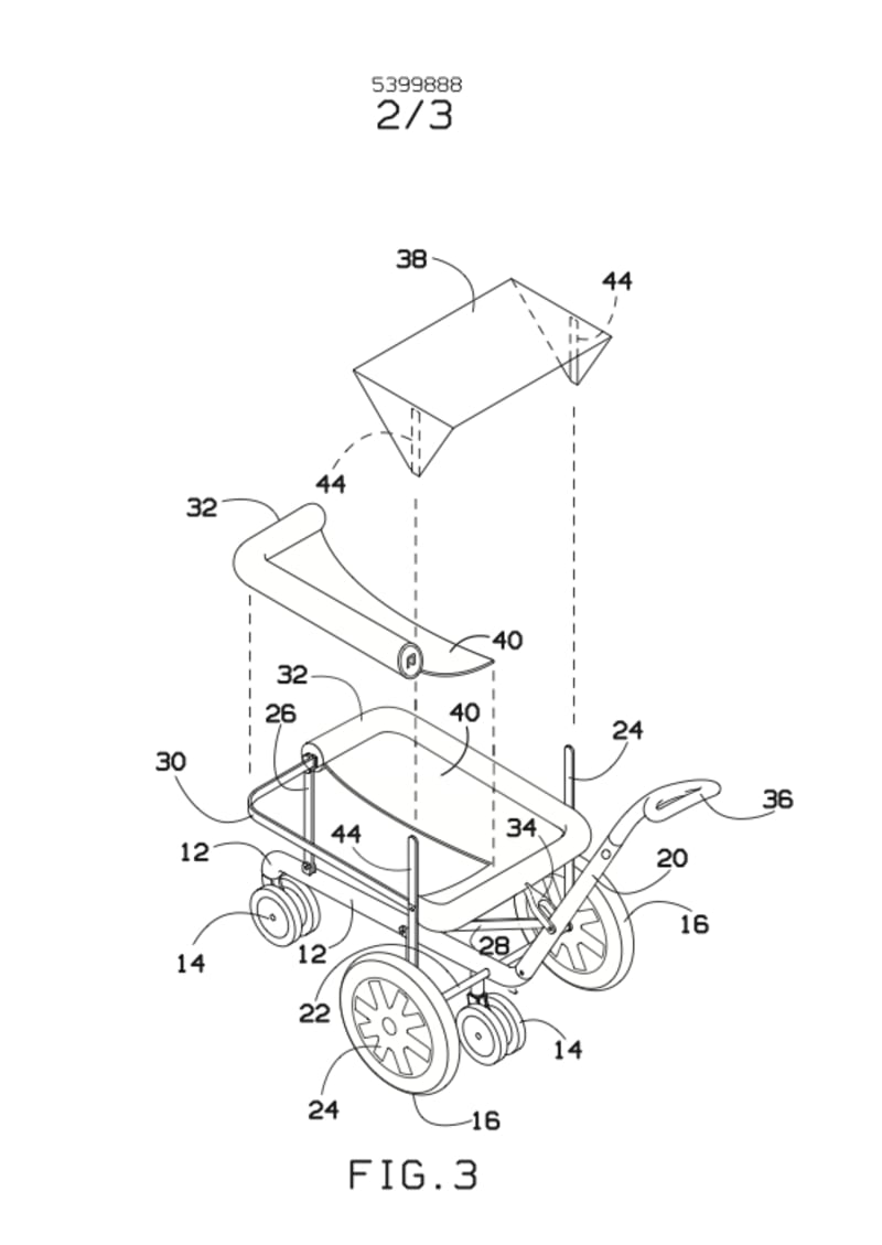
Innovation: This model of a carriage is not offered in any market today.I find as a mom having my first kid.Wanting to get the post pregnancy weight off.I did not have available a carriage that I'd have the option not to use my hands my child could sit in the carriage secure and I with flexabilty and sheer control with absolutly no weight infringements on me as the controller and shockabsorbant smooth ride for my son.Which ever way I turned my tourso the carriage would comply simply by wearing a waist strap which totally controls the steering assembly.Arms are free to move about and this carriage could be walked behind or pulled wagon style By simply reversing the velcro straps for the seating.Using the applied science of equipment design intended to reduce operator fatigue and discomfort.
Problem Solved: The problem that this stroller addresses is the four wheel straight axel.Strollers have been designed on four wheel straight axels since the year 1733 Sir William Kent.Only appended to 3 more times since Willam Kent.By William H Richardson year 1889 ,Owen Mclaren year 1965,Phil Baechler 1980 with the 3wheel fixed axel jogger stroller. My design the controller has total maneuverable Steering,turning,pivoting abilty and control.The occupant is safe with all turns and the carriage is light weight with total shock absorbancy.It services the kid and the parent.
Like this entry?
-  About the Entrant
-  Name:Quinetta Jackson
-  Type of entry:individual
-  Software used for this entry:Isometric (2-D) Plane Cad
-  Patent status:pending



 
    
    
   

