Super-simple Description: A portable device that records data(video/audio) all the time, so that you don’t miss a thing.
‘X’ is a suite of modular devices intended to achieve the 3 following aims:
To record and catalog almost any type of audio/visual experience seamlessly,
Capture an experience as and when it occurs and,
To add value to these experiences using technologies such as augmented reality (AR).
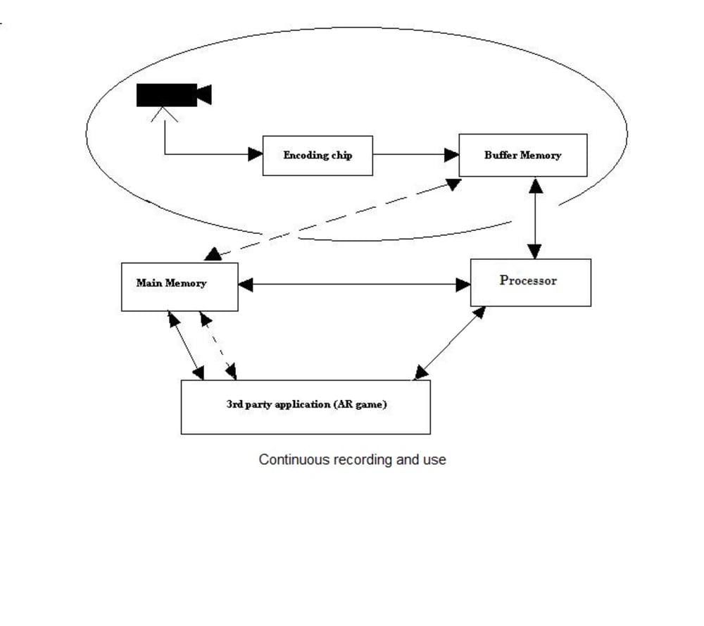
Can be grossly simplified to a handheld device attached to various sensors. Its main purpose will be to record from one or more of these sensors all the time in a buffer. This would ensure that the last 15 minutes (example) are always stored. A user can then transfer this data to main storage if she feels that that “experience” is worth recording.
Its simplest use case would tackle this problem: Sometimes when you hang out with your friends, or you are on a wildlife trip, or you’re just doing normal everyday things, you suddenly come across something, an image, a sound, a video that you wish you could have captured. If you have X, at the click of a button you can just transfer the last ‘x’ minutes recorded from your camera/mic into permanent storage.
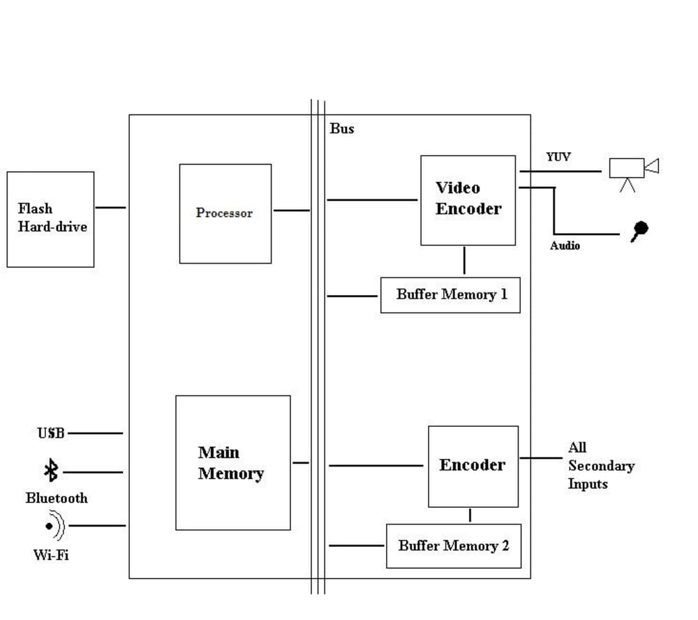
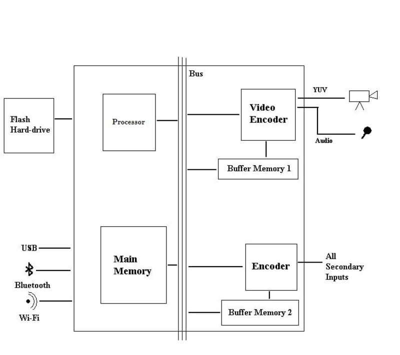
X consists of two components: Recording device(s) and a handheld.
The recording apparatus consists of a variety of sensors (with standard interface), wired/wireless.(Examples: GPS/Camera/Mic/Accelerometer/Sensor/etc).
The handheld device has a modified motherboard that would enable intelligent power consumption tweaking. At the heart of the handheld is a modified buffering circuit that is decoupled from the rest of the hardware to enable continuous recording from user-selected sensors. It will support standard interfacing options: touchscreen for users and wi-fi, Bluetooth to connect to networks. Coupled with a powerful embedded processor and its seamless connection to the cloud, intensive applications will be easy to develop and use.
With this design, X is capable supporting AR applications.
X aims to profit from the current trend of standardized open-hardware formats besides the open software stack for breeding an active user community around it.
X does not require a fundamental shift in technology, but it takes advantage of the ongoing trends in embedded computing. Manufacturability and marketability of X are easy to gauge because of its modular components (variety of consumer budgets) and capitalization on the social networking and media sharing boom. However, it must also be realized that the demands that X and its applications make out of hardware and software are not trivial.
Users can add standard sensors, and write custom apps using the correct drivers and comprehensive API for using their tweaking their devices efficiently and using multiple sensors. It is now only up to one’s imagination to conjure applications with this flexible platform that X provides. X would revolutionize social networking (Real time and media applications). Besides the obvious consumer applications, X can be used for Alzheimer patients (recording in spurts, and supporting facial recognition), creating recorders for adventure sports, quick surveying applications (GPS information, image processing to calculate heights and distances).
Like this entry?
-
About the Entrant
- Name:Tanmai Gopal
- Type of entry:teamTeam members:Varun Joshi, Rikin Kachhia, Arun Chaganty
- Patent status:none

