When the wind blows at 10mph it has eight times as much energy as at 5mph. At 10mph, traditional wind generators generate approximately twice as much as at 5mph. There is a lot of energy in the wind that is not utilized.
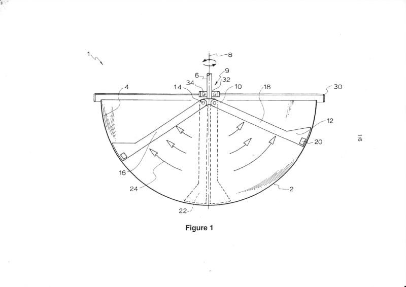
This generator (patent pending) consists of a hemispheric stator and a rotor with a number of hinged arms. At very low wind speeds these arms rotate around a very small diameter (small diameter,low torque). As wind speed increases, these arms are forced upwards into a larger rotation diameter (larger diameter, higher comparative torque). Because the rotation diameter is now larger, the Stator size has effectively increased in size. This results in an increase of electricity generation by a factor of approximately 3.14 (pi), not a factor of 2 as with traditional generators.
This design has the ability to operate in very low wind speeds (low rotation diameter,low torque) and also in very high wind speeds (larger rotation diameter,higher comparative torque).This increase in torque keeps the blade speed relatively low, allowing the blade to be designed without a feathering device, depending on site conditions, of course.
This generator operates without the need of a gearbox, as the action of the rotor arms effectively take its place. Electricity could be generated at 50 hz (or virtually any other for that matter) by designing a blade speed/ torque relationship.
It can be used in small, medium or large generators either horizontally or vertically. Although its production cost would be slightly higher, its higher efficiency would recover this cost quickly. The fact that a generator is not needed in large units would also have to be included in cost considerations.
As a roof mounted unit, its higher efficiency may attract more building owners, increasing potential markets.
On the larger side of things, its efficiency would also increase the geographical area that could be considered for wind farm construction.
This unit could be retrofitted to most wind generators, resulting in efficiency increases with small infrastructure costs.
Like this entry?
-
About the Entrant
- Name:Peter Biggs
- Type of entry:individual
- Patent status:pending

