PLATINUM SPONSORS

Platinum Sponsors
  • Login
  • Sign Up
  • How to Vote
  • About
  • Rules & Tips
  • Entries
  • Archive
  • Prizes
  • FAQs
  • Contact
  • Login
  • Sign Up

  • How to Vote

  • About
  • Rules & Tips
  • Entries
  • Archive
  • Prizes
  • FAQs
  • Contact
  1. Home
  2. 2010
  3. Entries
  4. Entries

2010
Sustainable Technologies

"Traffic generated wind" highway lights

This self contained highway lighting apparatus consists of a base made in the same cross sectional dimensions of existing "K" rails that divided the Highways. This base will have a hole that accepts the drop in style of this lighting unit.

READ MORE

Jeffrey Davis
La Habra, United States
Votes: 0
Views: 7286
Sustainable Technologies
Jun 28, 2010

52 Pickup

“52 PICKUP”

An Invention of Bálint Szent-Miklósy

KeyToNYC@aol.com

Picking up trash in the parks or along roadways is one of the most inefficient tasks currently performed. Equipment given to Parks and Sanitation Department workers saves them from bending by using a gripping tool that lets them grab the offending object and place it in a receptacle.

READ MORE

Balint Szent Miklosy
New York, United States
Votes: 3
Views: 6144
Sustainable Technologies
Jun 21, 2010

A Gateway To Green Power & Propulsion

Spacecoast Plasma & High energy Electrostatics Research & Engineering Laboratory (SPHERELAV

* SPHERELAB is being organized to attract new public and private funding to Central Florida by establishing a strong, innovative Plasma Science & Technology Program

* Plasma Research & Development has funding priority in Washington

* This program will develop 'Signature Instruments' to attract Faculty,

READ MORE

Matthew Travis
Melbourne, United States
Votes: 2
Views: 5891
Sustainable Technologies
Jun 29, 2010

A New Use for an Axial Roof Ventilator Turbine

The original idea was to make a small axial generator to fit on top of existing “Whirly Bird” axial roof ventilators. However, the effective swept area of a whirly ventilator is small and with a wind speed of 4m/s (annual Western Cape average) it could not be expected to produce more than 20 watts. Not a cost-effective proposition,

READ MORE

Michael Ashford
Darling, South Africa
Votes: 6
Views: 11445
Sustainable Technologies
Jun 30, 2010

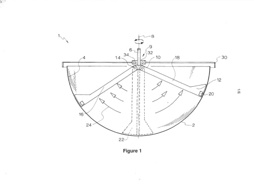
A New Wind Generator

When the wind blows at 10mph it has eight times as much energy as at 5mph. At 10mph, traditional wind generators generate approximately twice as much as at 5mph. There is a lot of energy in the wind that is not utilized.

This generator (patent pending) consists of a hemispheric stator and a rotor with a number of hinged arms.

READ MORE

Peter Biggs
Bendigo, Australia
Votes: 0
Views: 5834
Sustainable Technologies
Jun 30, 2010

A Ruggedized National Sustainable Energy System

Sustainable energy sources, like wind and solar, are not as easily controlled as coal and oil. Powering the American economy off its environment requires an advanced computer system pulling in massive amounts of data, churning that data into a national model predicting both energy supply and need, and providing day-to-day stable control for the entire system.

READ MORE

Tom Riley
Baltimore, United States
Votes: 0
Views: 4957
Sustainable Technologies
Jun 20, 2010

A Turing Computer Without Machine Code

Examination of many computer programs reveals that only a few logic structures are involved and that these could be placed on a device such as the FPGA (Field Programmable Gate Array). This led to the development of the concept of a computer without machine code.

READ MORE

Bernard Hodson
Ottawa, Canada
Votes: 3
Views: 7709
Sustainable Technologies
Jun 15, 2010

A Wind Power Plant With Vertical Linear Transit Blade

The invention addresses the technical aspects of electricity generating plants, specifically wind power plants.

One of the purposes of the invention described here is to propose a new architecture that reduces mechanical stress as much as possible by unifying all the torque and tip-over moments into a single bending moment along the vertical axis,

READ MORE

Claudio Cagnolati
Bazzano, Italy
Votes: 0
Views: 5907
Sustainable Technologies
Jun 29, 2010

AC Efficiency Boost via Swamp Cooler Affect

Home air conditioning systems could get a boost in cooling efficiency by using swamp cooling technology.

One of the byproducts of air conditioning in the home is water, which is condensed on the evaporator core which cools the internal air. Rather than dumping or pumping this water away, we will collect it into a holding tank,

READ MORE

David Braverman
Rochester, United States
Votes: 0
Views: 5267
Sustainable Technologies
Jun 23, 2010

Adhesion & Gravity alcohol distiller

This is an adaptation of an ancient system used in the Peruvian Andes to filter solids and transport water since 5,000 years ago. It makes use of two free forces of nature, adhesion and gravity via the well known capillarity and siphon effects using fiber filled conduits.

READ MORE

Pedro Flecha
Miraflores Lima, Peru
Votes: 2
Views: 7172
Sustainable Technologies
Jun 28, 2010

Page 1 of 17

  • 1
  • 2
  • 3
  • 4
  • 5
  • 6
  • 7
  • 8
  • 9
  • 10

View Entries by

Contest Category

  • Aerospace & Defense
  • Automotive/​​​Transportation
  • Electronics
  • Energy, Power & Propulsion
  • Manufacturing & Materials
  • Medical
  • Robotics & Automation

Also

  • Tag Cloud
  • 2025 Entrants
  • Number of Votes
  • Number of Page Views
  • View All Entries

2025 Contest Results

  • Grand Prize & Category Winners
  • Top 100 Entries
  • Browse All the Entries
  • Final Voting Scoreboard
  • Meet the Judges

Follow Us

Sign In
Forgot Login?

 Contest Notifications: Click here for the full list of 2025 winning entries

  • © 2025 SAE Media Group
  • Privacy Policy
  • Service Status