The present invention segregates the various contaminates
from each treatment or process step, thereby resulting in a
plurality of recovery tanks each containing only a single
contaminant. Because each recovery tank contains only a
single contaminant, the process of recovering that single contaminant, if desired, is simpler as compared to a recovery tank containing multiple contaminants. Furthermore, the present invention flushes the rinse tank each time an article is rinsed therein so that multiple contaminants are not mixed by virtue of residue remaining in the rinse tank. Further, the present invention permits a specific article to be immersed or submerged in a rinse fluid where different rinse fluid types may be used, for example, hot fluids, cold fluids, deionized water and non-aqueous based fluids. Further, the present invention includes a single rinse tank, which advantageously reduces precious manufacturing floor space. Accordingly, the present invention has a wide variety of commercial and non-commercia1 applications, including plating processes and electronics fabrication.
SUMMARY OF THE INVENTION
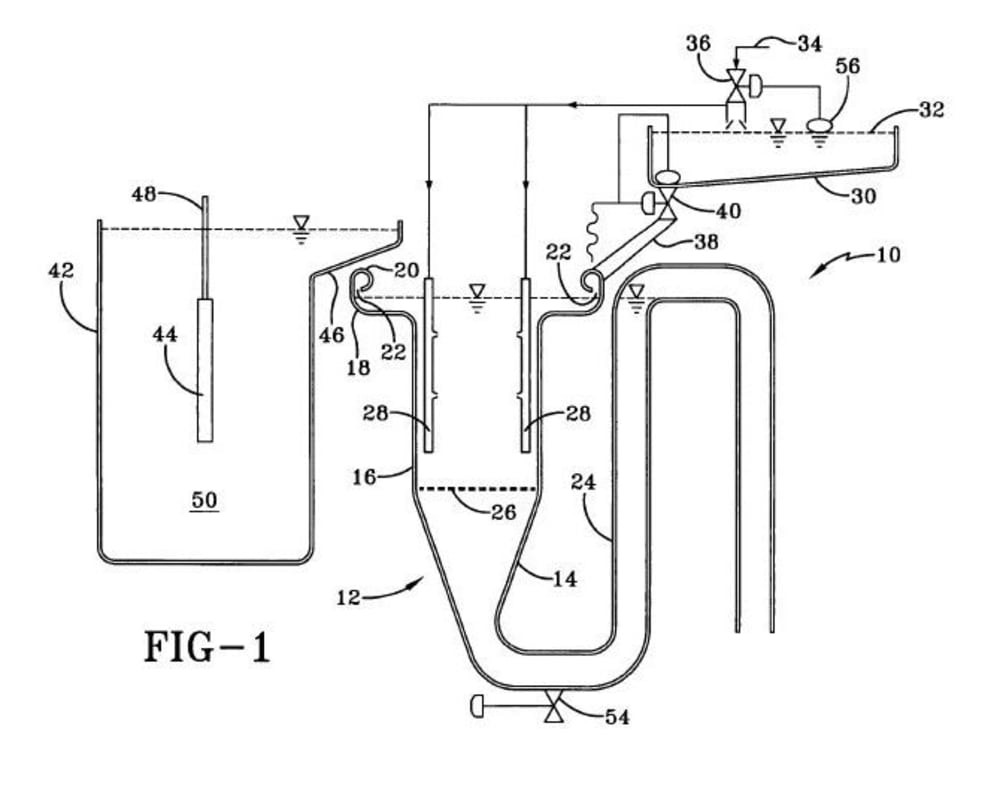
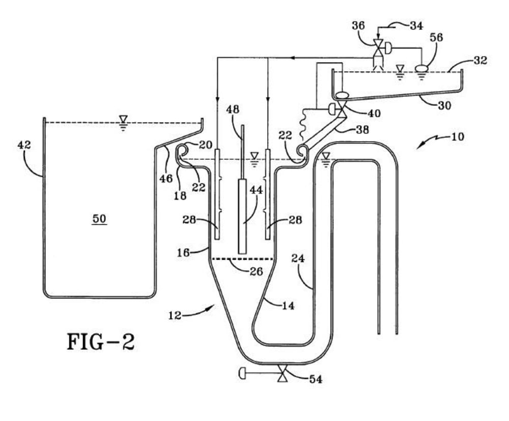
In the instant invention, after a part or article is treated, it is placed into the rinse tank that is filled with a rinse fluid, such as, typically, deionized water or, alternatively, a non-aqueous based fluid. After a length of time, the rinse tank is flushed (similar to a toilet flush) and the article is sprayed while the tank is being flushed. The rinse discharge goes to a recovery tank dedicated to one type of contaminant. The article is then placed in a process tank for further processing, or, if processing is finished, removed to another area. Some advantages of the instant invention include: a single rinse tank usable for all processes; full control over rinse water quality at all times; rinse fluid may be hot for a certain operation then cold for another operation; compact size minimizes floor space; minimal distance between tanks minimizes oxidation during transfers; smooth flush tank minimizes cross contamination; rinse tank is filled by gravity (laminar flow) or pump to minimize fluid aeration; rinse tank is drained by gravity or pump; rinse tank waste fluid is diverted for recovery by type of contaminant; batch plating may be automated using rotary gantry with linear actuator wherein the position of the gantry is used to position the waste water diverter; multiple parts may be processed using different process steps for each part by utilizing a rotary robot.
Like this entry?
-  About the Entrant
-  Name:Harry Archer
-  Type of entry:individual
-  Software used for this entry:MS Paint
-  Patent status:patented



 
    
    
   

