FRICTIONLESS ELECTROMAGNETIC RECIPROCATING ENGINE
Key Words
2-Stroke internal combustion Engine, Neodymium permanent magnet, Superconducting levitation, Electromagnetic engine.
Research and/or Engineering Questions/Objective
The internal combustion engine has been the foundation for the successful development of many commercial technologies. It uses conventional fuel such as diesel or petrol as a source of energy. Present paper addresses an idea of Friction-less Electromagnetic Reciprocating Engine. The work is an extension of conventional two stroke internal combustion engine to get rid of the use of conservative fossil fuels and to overcome frictional losses associated with piston cylinder assembly.
Methodology
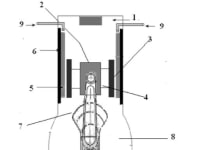
Electromagnetic engine is designed with the combination of an electromagnet and a Neodymium (permanent magnet) mounted on square piston head. A Niobium superconductor tracks are suggested to use between square piston rectangular cylinder assembly to levitate piston from cylinder walls to overcome friction and associated losses. The work is carried out in to two parts. First part of the work comprises experimental design, development and working of electromagnetic engine with all the details of driving force calculations. And the second part is primarily related to the proposition of theory for the magnetic levitation based frictionless piston cylinder assembly.
Results
Experimental calculations show that, this engine is capable of producing larger driving force than the conventional two stroke engine. It uses electromagnetic force to drive piston by continuously switching on off of current and the polarity of magnetic field to produce repulsive forces which generates power at the piston head in each cycle of revolution of crankshaft. And the use of electromagnetic levitation eliminates the need for piston ring and thus, obviates the friction by levitating the piston.
Limitations of this study
An imperative limitation of the present study is the high initial investment associated with frictionless arrangement; cost of cryogenic unit and neodymium magnet is much more while on the other hand it can be compensated with the cost required for manufacturing Ic engine, its fuel requirements as well as its maintenance. Furthermore, this engine cannot work effectively under hot region like Rajasthan (India), South Africa etc.
What does the paper offer that is new in the field including in comparison to other work by the authors?
This is the first attempt of proposing the idea for making an entirely frictionless piston cylinder assembly. Moreover, the calculation and its comparative analysis of losses associated with IC engine is new
Conclusions
Newly developed friction less electromagnetic engine comprises of square and rectangular shape cylinder and have great efficacy than conventional IC engine. The innovative concept of making it friction-less makes it better than conventional engine.
Like this entry?
-
About the Entrant
- Name:Parag Patil
- Type of entry:teamTeam members:Krutika Deshmukh
- Patent status:pending

