Enviromental and economical issues render the need for highly efficient universal source of mechanical power most urgent. The most efficient way to convert thermal energy to useful work is to fuel inside engine's cylinder, and highly efficient and clean thermodynamic processes for producing hot high pressure gases, like detonation, compression ignited combustion of homogeneous charge and very high-pressure Sabathe cycle, render positive displacement internal combustion engines a very interesting proposition, provided that efficient way for converting thermal energy into useful mechanical power is incorporated. However, extremally high pressure and gradient of pressure generated by these thermodynamic processes render conventional piston engines virtually useless due to their relatively weak structure. Thus there is a need for extremally robust and compact engine capable of coping with such enormous loads.
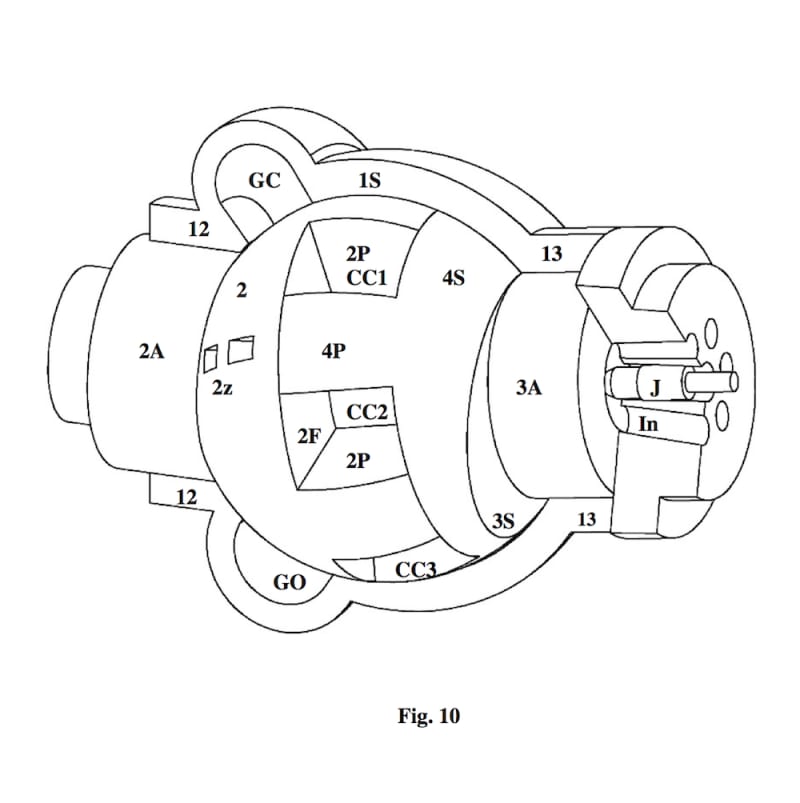
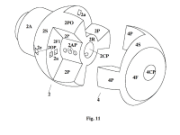
My invention (US patent no. 7,689,766, Polish patent to be issued shortly) provides the optimal form for the two stroke rotary and oscillating spherical engine of unique strength and compactness. The engine has a body 1, and only 3 moving parts, namely main rotor 2 forming a unique whole with output shaft, secondary rotor 3, and intermediate rotor 4. Pistons 2P and 4P form a unique whole with main rotor 2 and intermediate rotor 4 respectively. All the engine parts feature extremally robust structure; in fact, the engine mechanism is the strongest one that exists, as moving parts occupy all the body internal space less combustion chambers, which makes this engine exceptionally well suited for operating on extreme, highly efficient thermodynamic processes.
Like this entry?
-
About the Entrant
- Name:Wieslaw Oledzki
- Type of entry:individual
- Patent status:patented


