We live in a world that needs more electric power. This increase in power must be produced by a source that produces no carbon dioxide. This new energy must also be present in large quantities and must be able to be extracted cheaply. There are many sources of thermal energy in which there is only a small temperature difference between the source and the sink. These sources include geothermal energy, ocean thermal energy, many solar sources, waste heat from engines, waste heat from industrial processes, and differentials between atmospheric temperature and ground temperature. These sources have enormous amounts of thermal energy. However, since the efficiency of tuning thermal energy into mechanical energy is based on the temperature differences, these sources can only change a small percentage of the thermal energy to mechanical or electrical energy. Due to this fact, only a tiny amount of this energy is used to produce power. The reason for this is that the cost of engines that turn thermal energy into mechanical energy. The three methods used today to turn thermal energy into electrical energy are thermoelectric generators, Rankin engines, and Sterling engines. Thermoelectric generators are inefficient and expensive. Rankin and Sterling engines are costly to produce and maintain due to their complexity. The object of this invention is to produce an engine that will change small temperature differences of thermal energy into mechanical energy efficiently and is very inexpensive to manufacture and run.
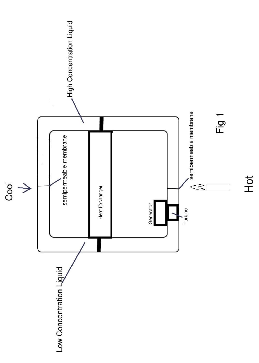
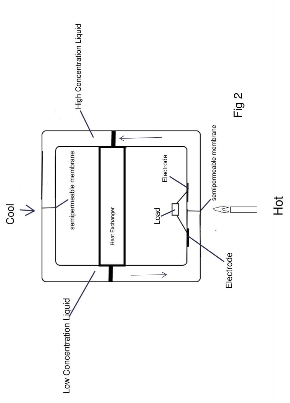
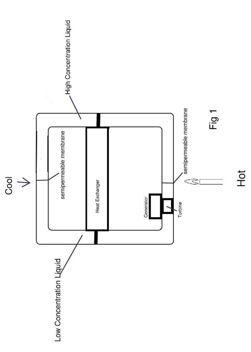
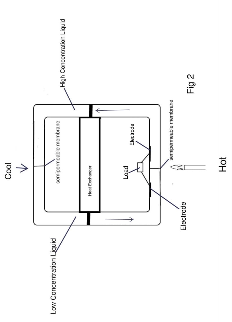
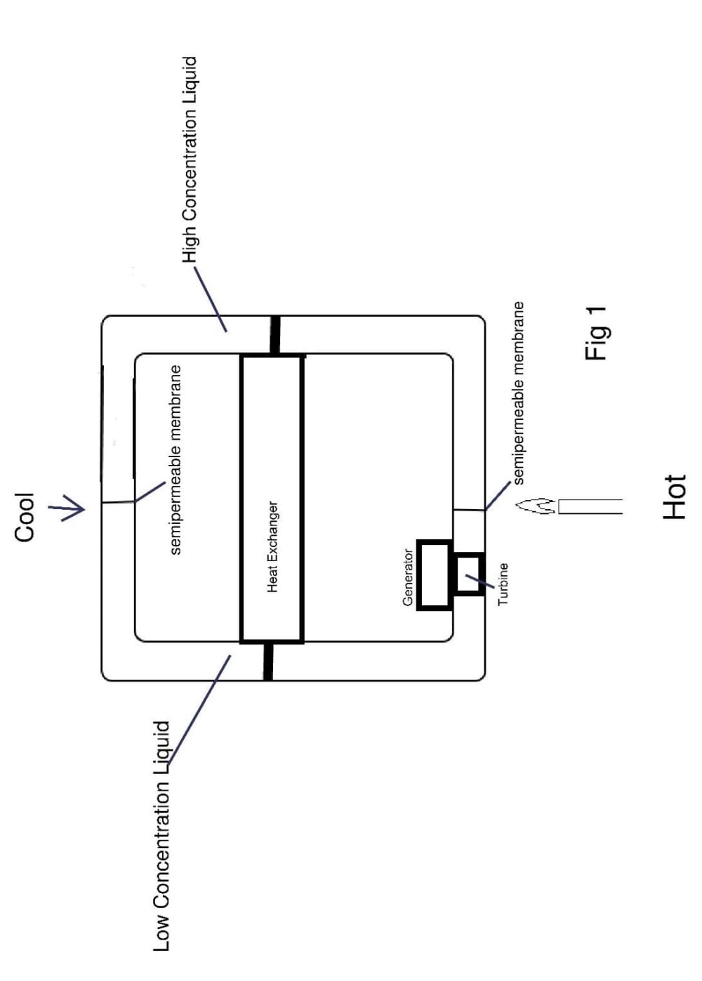
As shown in Figure 1 and 2, a heat source heats the low concentration liquid and the high concentration liquid around a semi-pervious membrane at the bottom of the loop. At the top of the loop, the low concentration liquid and the high concentration liquid and semi-pervious membrane are being cooled. Thus, the osmotic pressure on the bottom membrane would be higher than the osmotic pressure at the top membrane due to the temperature difference. The low concentration liquid in the loop would then flow through the membrane at the bottom of the loop. The pressure from the high concentration liquid forced by the low concentration liquid flowing into the high concentration liquid through bottom membrane would be greater than the osmotic pressure of the low concentration liquid flowing through the top membrane. Therefore, reverse osmosis would occur. Consequently, the low concentration liquid and the high concentration liquid would flow through both semi-pervious membranes and around the loop. This flow could drive a turbine generator as shown in figure 1. Electric energy could also be taken from the flow by placing electrodes within the low concentration liquid and the high concentration liquid as shown in figure 2. This would be similar to a concentration cell. A heat exchanger is placed between the high concentration liquid channel and the low concentration channel. As the liquid flows upward in the high concentration liquid channel, it gives up its heat to the heat exchanger which heats the liquid flowing downward in the low concentration channel.
Like this entry?
-  About the Entrant
-  Name:Jerry Semer
-  Type of entry:individual
-  Patent status:pending


 
    
   
