Abstract: The proposed project concerns about a failure analysis of an electric aluminum alloy conductors damaged and broken for fretting fatigue phenomena induced by aeolian vibrations. Life of electric conductors is often reduced by various degradation mechanisms such as repeated bending, fluctuating tension, distortion, fatigue, wear and corrosion phenomena. However the main limiting factor of the electrical conductors is related to aeolian vibrations in the high frequency range (between 5 to 50 Hz). Conductor oscillations may lead to fretting fatigue problems caused by wind excitation, mainly in the suspension clamp regions, spacers or other fittings. The induced aluminium wire fracture imply a drastic reduction in the transmission line service. Vibration dampers are considered the most effective method to extend service life of electric conductors, as they are the means to reduce fretting damage of aluminium conductors. The proposed work is divided in two sections to investigate the failure of an ACSR and AAAC overhead transmission lines. The first sections of proposed work focused on overhead transmission line inspections and detection of fretting fatigue facture, corrosion, broken strand etc. using unmanned aerial vehicle (UAV) and image processing. Second section of proposed work comprises an apparatus to analyze the conductors for diameter, twist angle, corrosion, fretting fatigue rupture etc. using image processing and Hough Transform.
Aims of proposed work are,
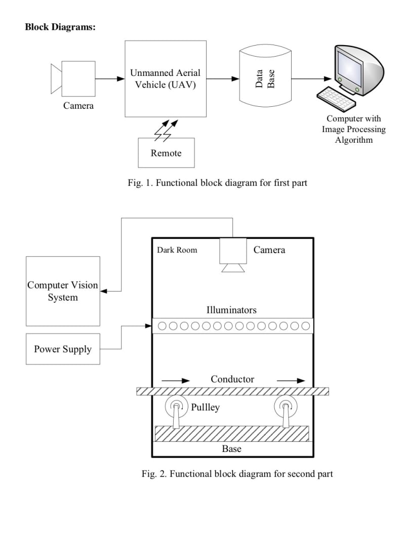
1. The main aim of the proposed work is inspection of transmission line using UAV and design and development of apparatus for fretting fatigue rupture detection.
2. To provide fruitful information by using image processing technique for following parameters,
a. Diameter variations b. Fretting fatigue facture
c. Corrosion
d. Broken strand
e. Twist angle
3. To Minimize Risky Manpower, Scheduled Maintenance, Maintenance Time and Maintenance Cost.
4. To avoid Conductor facture, Power Failures, Damages and Hazardous Situations as shown below,
a. Damage at support points
b. Worn-out due to broken tie wires
c. Spicing and broken strands
d. Fatigue breaks
e. Risky power line inspection
Objectives of proposed work are,
1. To inspect the different power conductors by using vision based UAV.
2. To obtain and maintain the conductor health related database.
3. Analysis of different power conductor defects by using a robust image processing algorithm.
4. Extract the major features about defects like fretting fatigue, corrosion, twist angle etc.
5. Design and development of an apparatus to inspect the conductors for above mentioned features.
Like this entry?
-
About the Entrant
- Name:Smita Sutar
- Type of entry:teamTeam members:1. Smita B. Sutar
2. Sana M. Patekari
3. Anuradha N. Dudhane - Patent status:none

