
There has been a rapid increase in the demand for battery packs in recent years due to the growing popularity of residential power banks, electric vehicles, laptop computers, etc., all of which require battery packs. Since battery packs wear out over time, this increase in demand has begun to cause an increase in the need to dispose of old battery packs. Some battery packs can be recycled by mechanically breaking the pack down into its constituent metals and reselling the raw materials, but this is not always feasible. Often old lithium-ion battery packs are incinerated or are disposed to landfills. When lithium-ion battery packs wear out, it is generally only a small subset of the cells within the battery pack that have actually reached the end of their useful life, while the remaining cells within the pack have heathy performance and can be reused as second-life cells.
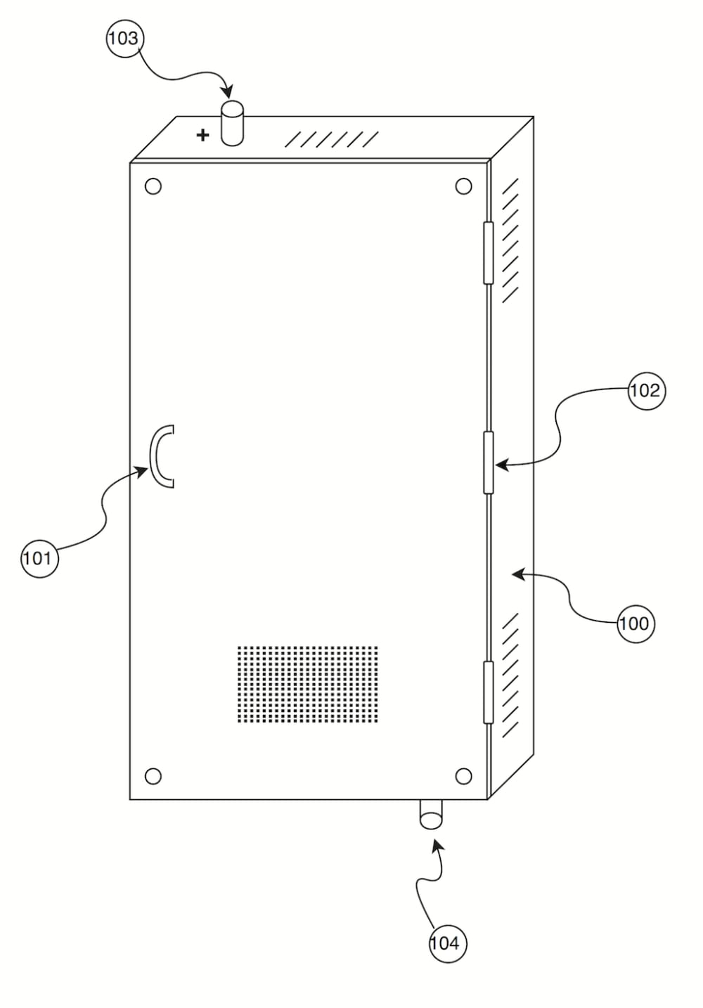
The Acrobattery is a battery pack comprised of user-supplied, second-life lithium ion battery cells that can be serviced by the user, replacing only the cells which have gone bad over time, as opposed to disposing of the entire battery pack, thereby preventing them from ending up in landfills when they otherwise still have useable capacity. Our companion app connects to the Acrobattery via a Bluetooth or wifi connection and communicates to the end user the relative health of cells so that the end user may know which cells need to be replaced and which cells still have a useful capacity, eliminating the need for up-front, thorough testing on each individual battery cell.
It is State of the Art for battery packs to be hot-swappable within a battery bank, but the idea of having individual electrochemical cells within a battery pack to be hot-swappable, meaning they are able to be removed and replaced without causing problems, is a novel concept.
Our first prototype of the Acrobattery is designed to use the popular 18650 sized lithium-ion cells found in power tools, laptops, and electric cars around the world. The Acrobattery works with 12V power systems and can interface with any 12V power inverter, solar panel, or wind turbine system. The system is scalable to varying capacity needs. A single Acrobattery unit may be designed to accommodate 50Ah worth of cells, but multiple units can be wired together in parallel to increase the system capacity.
The Acrobattery can be manufactured easily with existing manufacturing technologies. At the heart of the design is a Printed Circuit Board which contains all of the electronic circuits, as well as off-the-shelf holders for individual battery cells. This assembly is encased in a plastic enclosure made using a vacuum-mold or injection mold process. Final assembly and quality testing will take place in the U.S.A. with our contract manufacturer.
It is our dream to make a positive impact on the world around us by providing a solution to help us conserve used batteries and give them a second life!
Video
-
Awards
-
2019 Top 100 Entries
Like this entry?
-
About the Entrant
- Name:Daniel Cambron
- Type of entry:teamTeam members:Daniel Cambron
Sydney Norman - Patent status:pending

