Engine cooling method which reduces engine temperature about 75%. It acts directly on the combustion chambers or any part of the engine. It can be implemented on any combustion engine, and thus be able to function at any time any of these two thermodynamic cycles of operation:
- The engine can operate normally, performing all the power of its cycle (Otto, Diesel, etc.) in which it was designed (the active cycle).
- When desired, the engine can switch to COLD MODE operation, which reduces the engine's power by 50% (although without compromising energy efficiency) but greatly reduces its thermal footprint, allowing the vehicle to bypass thermal emission detection means.
This cooling method is an evolution of cylinder cancellation and Bosch WaterBoost concepts. It acts only on demand and comprises two main actions:
- Changing the poppet valves’ operation, so that the cylinders, instead of functioning in an active thermodynamic cycle that produces work, function in a novel "ventilation cycle", (the passive cycle), and whose mission is to sweep the combustion chamber (put air in and take it out), without compressions, nor combustions, nor expansions occurring.
- Injecting a coolant fluid with a high specific heat (for example, water) inside the combustion chambers or any part of the engine, so that said coolant fluid acts as a heat vector, absorbing it and evacuating it to the outside.
When implemented, this cooling method acts in just half of the cylinders, being the other half operating as a normal combustion engine. When the temperature of the active cylinders rises, the roles are exchanged with the passive cylinders, thus maintaining a working temperature like that of a recently started engine.
The “ventilation cycle” (passive cycle) consists of only two strokes:
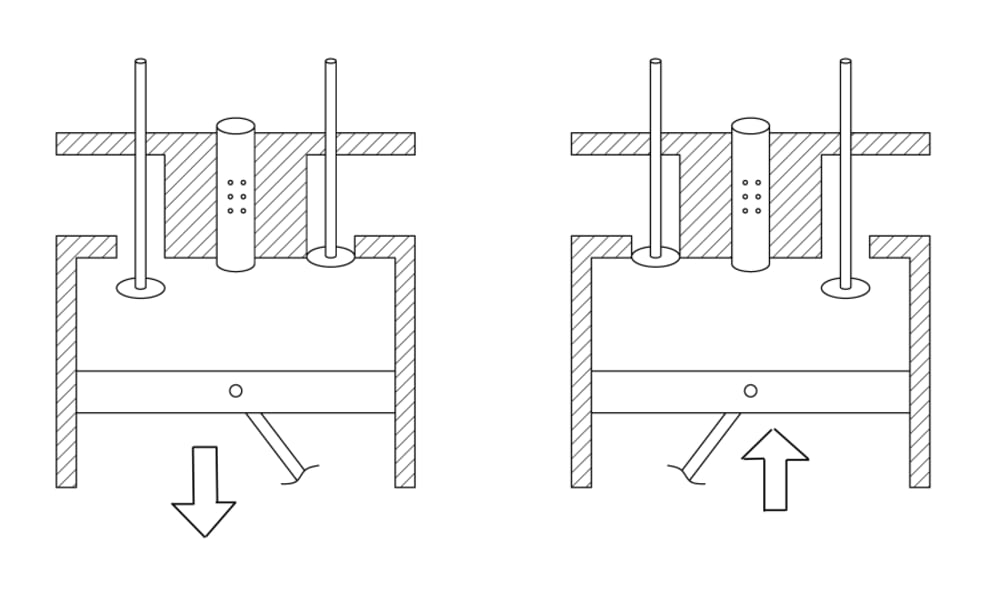
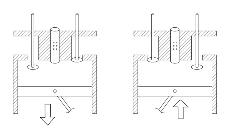
- Intake stroke: where the intake valve is open during all the piston's downstroke.
- Exhaust stroke: where the exhaust valve is open during all the piston's upstroke.
When this cooling method is activated in a cylinder, additional valve openings occur:
- in exhaust valves, at what should be compression stroke 2, and
- in intake valves, at what should be expansion stroke 3.
Thus, while the “ventilation cycle” is running, the cylinder is only executing two strokes:
- Intake stroke A, which is the same as stroke 1 of the 4-stroke cycle.
- Exhaust stroke B. Since the exhaust valve opens, it is no longer stroke 2 of the 4-stroke cycle, but it becomes an exhaust stroke B.
- Again Intake stroke A. Since the previous stroke has been an exhaust stroke, and now the intake valve also opens, it is no longer an expansion stroke, but becomes an intake stroke A.
- Again Exhaust stroke B, which is the same as stroke 4 of the 4-stroke cycle.
Many existing solutions can be used to vary the operation of the valves, such as the compression release engine brake (Jake brake), sliding camshafts, MultiAir (Fiat), Valvetronic (BMW) or Freevalve (Koenigsegg).
Like this entry?
-
About the Entrant
- Name:Jose Luis Bermudez De Castro
- Type of entry:individual
