Reel Free is a MedTech company founded in June 2022, with the aim of revolutionizing the oxygen therapy experience for individuals on supplemental oxygen. The inspiration for Reel Free came from the founders personal experience with his grandfather, who suffered from pulmonary fibrosis and faced numerous challenges due to the cumbersome and hazardous oxygen tubing. This personal story, led to the creation of innovative oxygen tubing management devices designed to enhance mobility and safety for oxygen therapy users.
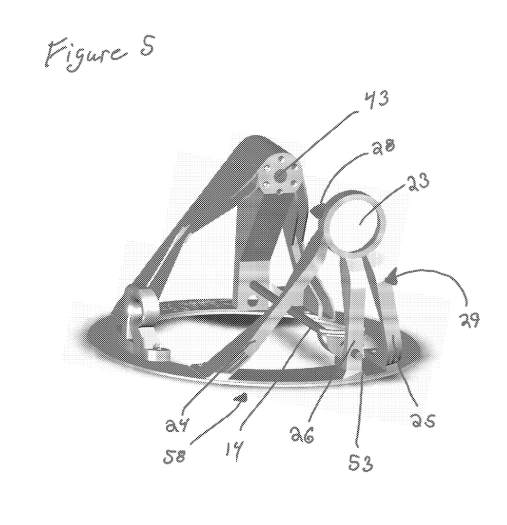
Reel Free's flagship product, the Reelmate Remote, is a motorized, remote-controlled device that manages 50 feet of oxygen tubing. It is designed to work in tandem with an oxygen concentrator, providing a seamless and secure connection for reliable oxygen flow. The device features a 360-degree swivel adaptor, ensuring smooth movement in all directions, and allows the tubing to be easily retracted and organized at the touch of a button. The retraction speed is adjustable, catering to users with varying levels of mobility, and a built-in safety feature stops the reel when no more tubing is available for retraction.
The market for Reel Free's product is significant, with approximately 4 million people in the United States using supplemental oxygen, a number expected to rise given the aging population and increasing prevalence of respiratory conditions like COPD (Chronic Obstructive Pulmonary Disease) and pulmonary fibrosis. These conditions often require long-term oxygen therapy, and the associated tubing poses a substantial fall risk, particularly for the elderly. Falls due to oxygen tubing are the leading cause of injury among people aged 60 to 65, costing an average of $30,000 per incident for emergency room visits.
Reelmate Remote stands out in the market with its unique combination of features, including the long-distance remote control, speed control, and anti-tangle design. It directly competes with products like O2 Remote and Tidy Tubing, but offers superior functionality in organizing and storing tubing, preventing tangling, and increasing the tubing's lifecycle. Reel Free's focus on user-friendly design and technical performance gives it a competitive edge.
Reel Free is currently in FDA registration processes and funding stage to scale its operations and bring the products to market. Reel Free is dedicated to improving the lives of individuals on supplemental oxygen by providing innovative, reliable, and user-friendly solutions. The company's mission is to revolutionize oxygen therapy, mitigate fall risks, and enhance the safety and independence of its users.
Like this entry?
-
About the Entrant
- Name:Alex Pollock
- Type of entry:teamTeam members:
- Alex Pollock
- Austin Polllock
- Patent status:pending



