Ice makers that dispense ice through the freezer door can be a wonderful convenience — when they actually work. However, they have not improved over several decades, and they can take up over a cubic foot of space in a freezer. Many people hate their ice makers.
A conventional ice maker is noisy, unreliable, and unpredictable. It makes a batch of ice by filling a multi-cavity mold and then noisily dumps it into a large bin. Due to temperature variations from door openings or defrost cycles, the ice may conglomerate into a large mass that must be broken apart.
A motorized auger pulls the ice forward where a whirling rotary hammer smashes the ice apart into smaller pieces and propels them out a chute with enough force to break delicate glassware. It might dispense 1 or 2 pieces of ice or 15 all at once. It can clog the chute, and when the freezer door opens, a pile of ice falls on the floor.
This new ice maker design is almost completely silent and totally predictable. It makes perfectly uniform crystal-clear ice cubes and can gently drop them into the most delicate glassware one at a time…. plink, plink, plink. It is so novel the patent office could not find any prior art on which to base a rejection.
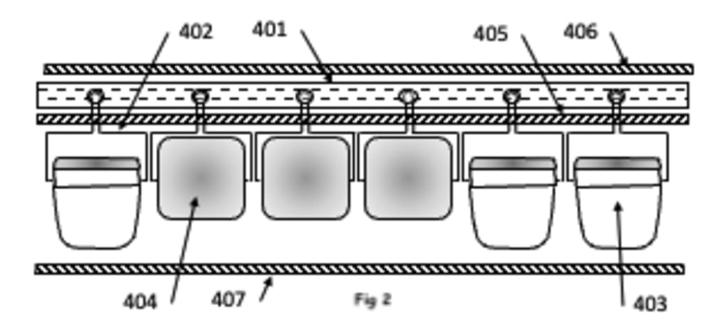
The design employs a new method of producing and dispensing ice that eliminates noise and other problems. An array of single-cavity flexible silicone molds is carried along a serpentine path by a belt or chain inside a rectangular housing. Fig 1 shows how the chain and sprockets are arranged. Light gray circles indicate the positions of the molds. Fig 2 shows how the molds are attached below the chain by hangers which allow them to tip forward to dispense their ice. The chain moves all the molds when a user requests ice. As a frozen mold reaches the front of the system the ice inside is quietly pushed out of the mold and gently slides down a chute into the user's container. As the empty mold moves along it is refilled with water and gradually freezes as it moves along the serpentine path. A user-adjustable speed control determines how rapidly the ice is dispensed. Since each ice cube is contained in its own mold it cannot touch or get stuck to any other ice cube.
A rectangular housing 10” x 20” x 3” can hold 180 ice cubes (about 5 pounds of ice) and only occupies about one-third of a cubic foot, as shown in Fig 3. It can be installed or removed without tools, like sliding a shelf in or out. For people who use a lot of ice, two or even three units can be stacked one above the other and will still take up less space than a conventional icemaker. If a lot of ice is needed quickly, all 180 cubes can be dispensed in 90 seconds.
Like this entry?
-
About the Entrant
- Name:Chuck Bagg
- Type of entry:individual
- Patent status:pending


