Technical Summary of the Utility Model: Device for Reusable Packaging and Adjustable Cushioning Components
Functionality
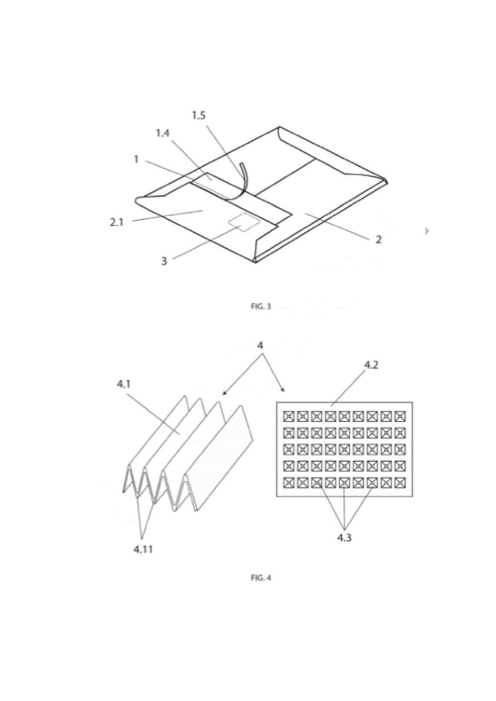
This utility model describes an innovative device designed to enable the repeated use of common packaging materials used in e-commerce, such as boxes, envelopes, and bags. The device is a multi-seal booklet that adheres to the packaging's closure flap, allowing for easy opening and resealing for multiple uses. It incorporates a chip to store product information and shipment data, facilitating efficient logistics management.
Novelty
The novelty of this invention lies in its dual functionality:
- Multi-Seal Booklet: This component allows the packaging to be opened and resealed multiple times without damaging the structural integrity of the packaging. Each seal can be easily opened and replaced with the next, maintaining the packaging’s usability.
- Digital Integration: The inclusion of a chip (such as NFC) for storing and reading shipment information wirelessly adds a modern touch, streamlining logistics processes and improving data management.
Additionally, the invention includes adjustable cushioning components:
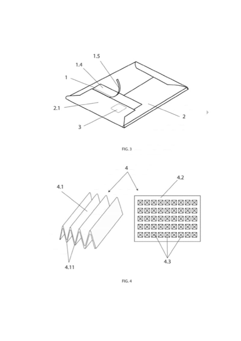
Spring-like Cushioning: Cardboard springs and interlocking sheets with pyramid-shaped patterns provide adjustable cushioning, securing variously sized items within boxes and mitigating transport impacts.
Production
The production of this device involves the following key steps:
- Manufacturing the Multi-Seal Booklet: Adhesive seals are pre-cut and folded, then connected in a booklet form. A chip is embedded in the adhesive surface for data storage.
- Adjustable Cushioning Components: These are produced using recyclable, compostable, or biodegradable materials such as cardboard. The springs are formed by folding sheets in a zigzag pattern, while the interlocking sheets are embossed with a high-relief pattern.
Applications
This device is particularly useful in the e-commerce sector, where it can significantly reduce waste by enabling the reuse of packaging materials. It addresses several issues:
- E-commerce Logistics: Facilitates easy returns and reshipments without requiring new packaging.
- Environmental Impact: Reduces waste and the need for new packaging materials, aligning with sustainable practices.
- Product Protection: Adjustable cushioning ensures that a wide range of products can be securely shipped, minimizing damage during transit.
In summary, this utility model offers a comprehensive solution for reusable packaging in the e-commerce industry, integrating digital data management and adaptable cushioning to enhance efficiency and sustainability.
Video
Like this entry?
-
About the Entrant
- Name:Manuel Hernandez Tarraga
- Type of entry:individual
- Patent status:none


