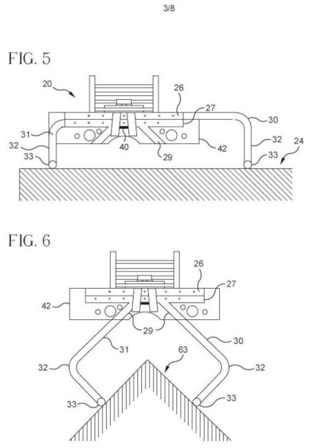
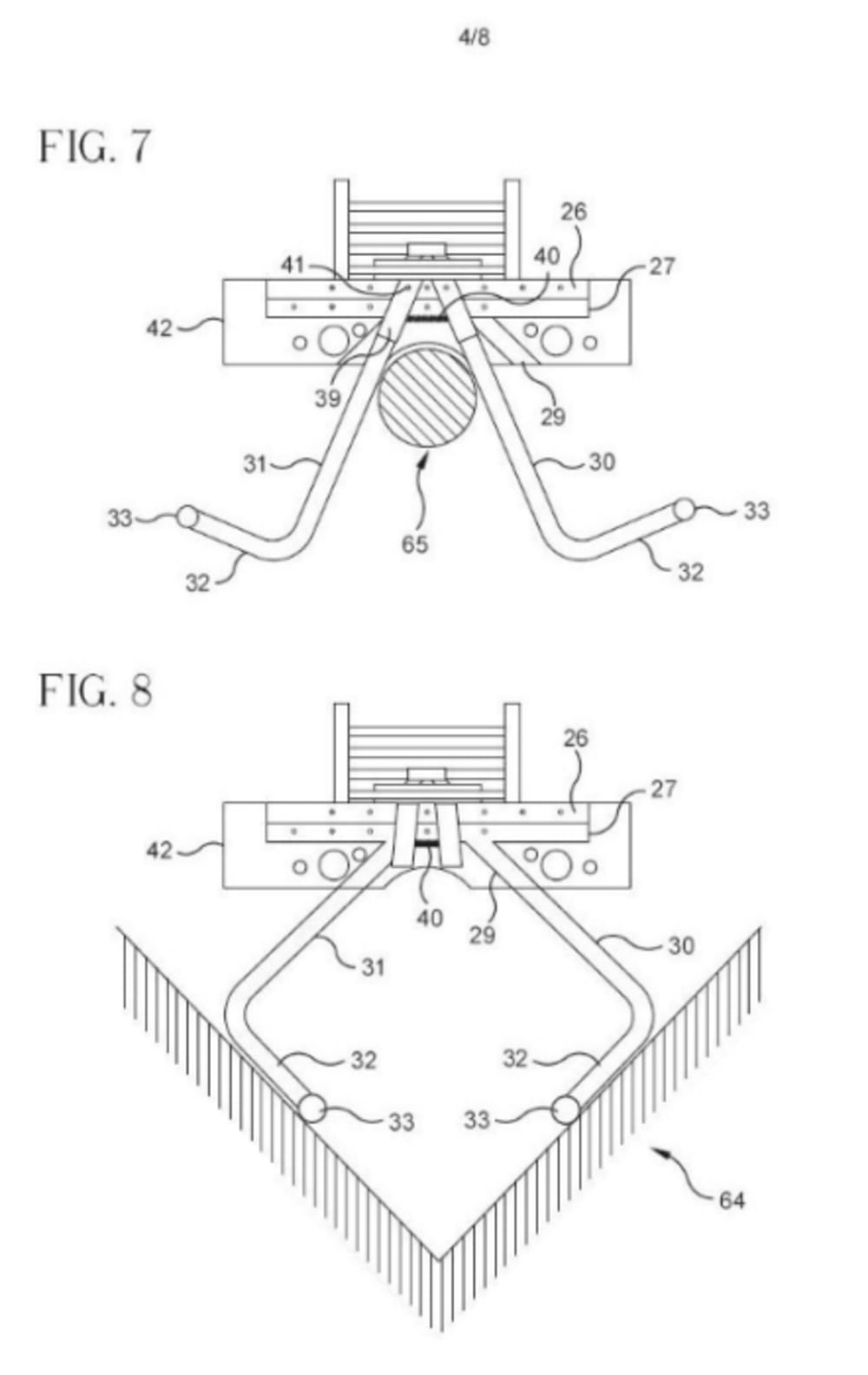
This device, when attached to a ladder, keeps it from falling or sliding off of walls. Its secure spring loaded clamp allows the stabilizer to be attached to two rungs of a ladder. Through simple manipulation, the adjustable “grabbing arms” can be shaped to grab the inside or outside corner of a house or can be shaped to secure ladder around windows and other difficult-to-reach places. The top platform is used as a frame, tool and supplies holder. The main objective of this invention is: safety for all ladder users and versatility of its application.
Like this entry?
-
About the Entrant
- Name:Voy Haig
- Type of entry:individual
- Hardware used for this entry:IBMSoftware used for this entry:ViaCAD
- Patent status:patented


