Our Funscooter is intended for three kinds of purposes:
1. As a transport to move objects from point A to point B.
2. As a sport equipment.
3. As a toy for children and adults.
The Funscooter enables movement of people or goods from one place to another.
The Funscooter creates an opportunity for variety of contests such as with or without a passenger or with a selected non-human load; for races on time and on distance.
The Funscooter may improve a quality of life through leisure time as well as workplace environment enrichment (in hospitals, nursing home and large corporate settings).
This invention is currently under Patent Pending.
The following detailed description of a preferred embodiment, when considered in the three of accompanying drawings, as follows:
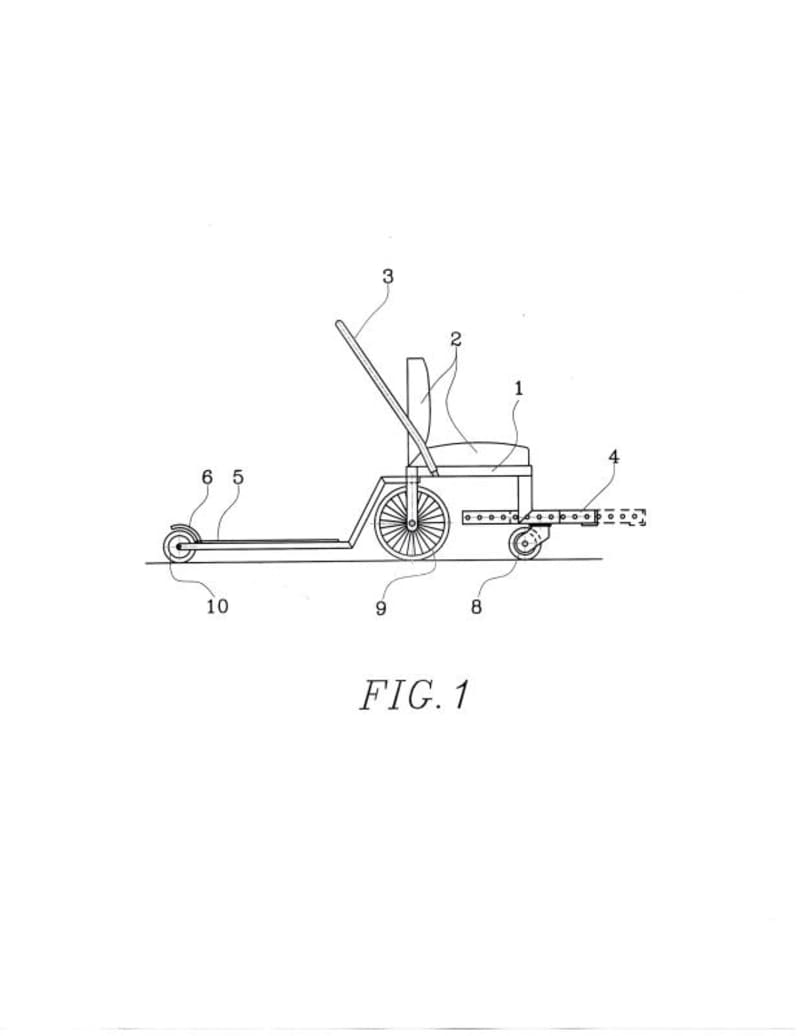
Fig.1 Front view of Funscooter.
Fig.2 Plan view of Funscooter.
Fig.3 Two examples of Funscooter usage and application.
The Funscooter comprises of:
1 - push cart frame
2 - seat or cargo box
3 - driving handle
4 - adjustable foothold
5 - pivoted one wheel platform
6 - foot brake
7 - vertical bearing axle
8 - one pivoted wheel
9 - two road wheels
10 - back wheel
We propose that Funscooter could be manufactured on regular scooter or bicycle plants.
The mass - producing of our product could also create a lot of jobs.
Video
Like this entry?
-
About the Entrant
- Name:Yulia Freynk
- Type of entry:individual
- Software used for this entry:AutoCAD
- Patent status:pending


