Included, please find our proposal for an alternative solution for energy generation. Our product may reduce dependence on non-renewable energy resources.
We believe that the Ecology Friendly Compound Energy Unit (EFCEU) for generating electric power from wind, convection (stack effect) and solar rays in combination will allow us to obtain clean and cheap energy (less than 5c per kwt) and completely eliminate the cost of power delivery.
EFCEU should create an opportunity to produce electricity without noise, air pollution or opened moving parts that typically present danger to the avian population.
While small scale renewable electricity generation becoming increasingly popular allowing households and businesses to harness renewable energy we are confident that most home and building owners would be thrilled with our solution for sustainable energy generation.
This invention is currently Patent Pending. After conducting a thorough feasibility research we have found that no similar or identical product was available on the market.
One of the most important attributes of EFCEU is that it could easily be installed on the rooftops of private homes, small as well as multistory buildings.
The present idea concerns an apparatus (cyclonic machine) for generating electric power from the integration of wind power and convection energy. The cyclonic conversion is characterized by transforming horizontal energy flow into vertical energy absorbing other air movements originating from additional sources such as excessive warm air (stack effect) in the vertical exhaust duct. It also permits to reach high degrees of energy concentration using environmentally friendly energy sources.
A secondary, but nevertheless important aspect of this invention is its ability to obtain additional energy, incorporating photovoltaic modules, as a finish for the canopy of this original unit.
Below please find a description of the preferred embodiment of EFCEU accompanied by the three drawings:
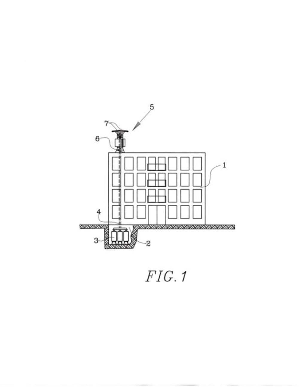
Fig.1 shows the Ecology Friendly Compounded Energy Unit as installed on the roof of the building, where:
1-building;
2-boiler room;
3-boilers;
4-exhaust duct;
5-EFCEU;
6-steel structure;
7-photovoltaic modules
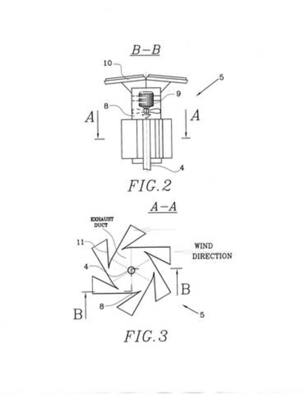
Fig.2 is a cross sectional view of the EFCEU (5) taken along the line B-B in Fig.3, where:
4-exhaust duct;
8-cyclone body;
9-generator with propeller;
10-canopy with photovoltaic modules
Fig.3 is a cross sectional view of the EFCEU (5) taken along the line A-A in Fig.2, where:
4-exhaust duct;
8-cyclone body;
11-the group of trumpet shaped inlet openings.
We also believe that the simplicity of our design of the EFCEU will allow manufacturing of the proposed product at any steel shop or factory. The cost of the unit and it’s installation would be paid in full for within one year of it’s usage by cutting costs on traditional energy consumption.
The mass-producing of EFCEUs could create numerous new jobs, business opportunities and stimulate economic growth of the country.
Like this entry?
-
About the Entrant
- Name:Yulia Freynk
- Type of entry:individual
- Software used for this entry:AutoCAD
- Patent status:none

