There are many female condoms designed till now. A basic need in the recent times of spreading diseases and more awareness among women. However, the designs have quite failed to capture the customer need and is uncomfortable to assemble and put it on. Also a penetrative kind of design is extremely unappealing to many women. This demotivation led to low sales and also dependency on pill type pregnancy prevention which plays with hormones, and dependency on their male counterparts to wear the usual condom.
My inspiration is the universal sanitary pad. a very easy design and extremely easy to place and be comfortable all day long. However with some smart changes and study of the forces my design overcomes all the possible ways of failure.
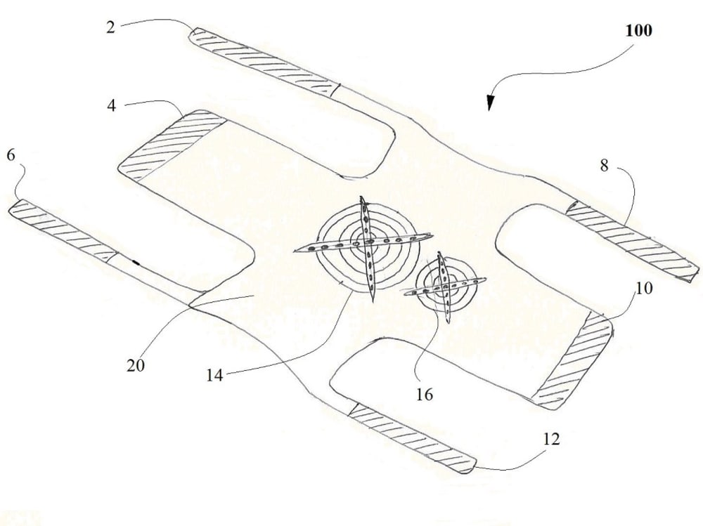
The illustration shows what the design is. However there is a little to describe here. The centre of the thin latex or polyisoprene fempro is a unique ripple design, a wave form circular in nature. The side flap extensions overlap the inner thigh of the female and strapped on. The waist band is overlapped.
The adhesion can be achieved either by velcro or a 3M Glue of a good grade. Depending on the size of the waist, the size of her thigh she is able to choose the right model to buy and wear it. This design is non penetrative and hence can be worn all day long.
The wave form at the centre enables the penetration but doesn't stretch the latex beyond its limit of tear, any stretch is then accommodated by the side flaps which are tied to the thigh, hence there is no chance of slip or there cannot be penetration from the sides.
The design is a mix of an underwear, strapped stockings and sanitary pads all of which are popular and comfortable for the ladies all around the world.
Figure 1 shows the design description
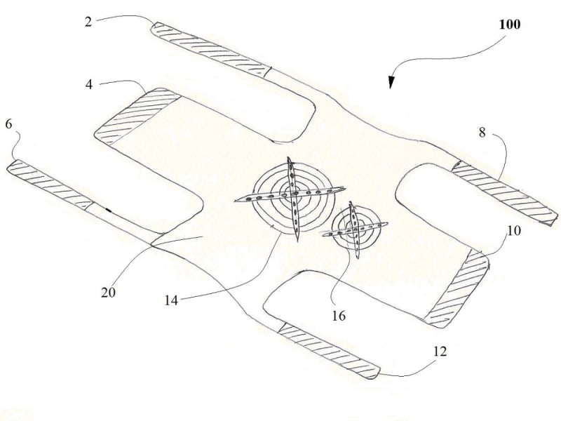
Figure 2 shows the usability of the fempro model
Figure 3 shows the central wave form of the circular profile, for easy stretch.
Like this entry?
-
About the Entrant
- Name:Firoz Siddiqui
- Type of entry:individual
- Patent status:pending

