With "concussions" so much in the news of late we decided to go beyond what the NFL is doing with sensors in the helmet monitoring the impact forces to be WI Fi'd to the side line to engage "Concussion Protocol."
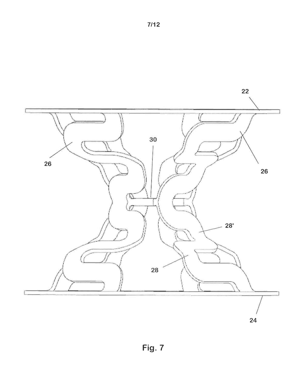
We have designed an inner sports helmet sports liner (also for military helmet application) to substantially reduce the shock of head impact trauma. This proprietary patent pending sports liner utilizes OACS (Opposing Articulated Composite Springs) to decelerate impact load force to the wearer's head.
Under impact load, the specially positioned OACS (Front, Top Side and Back) rotate and compress downward to add the coefficient time delay in load force disbursement to reduce load force to the head of the wearer. After impact the OACS rotate upward to return to their unloaded position, ready for the next impact.
In multiple computer simulations, the liner demonstrated a 75% reduction in load force to the head.
The 2" deep shock mitigation liner fits inside the exterior helmet shell and attaches to the typical head liner on the head. The liner is made of a high tensile and compression strength composite material that is extremely durable light weight and cost effective in this application and can be molded to fit the design of any current sports helmet.
Like this entry?
-
About the Entrant
- Name:Jeff Brown
- Type of entry:individual
- Software used for this entry:Solid Works
- Patent status:pending


