Story Behind FLEXcon Fit Test Hood
At FLEXcon we pride ourselves on the relationships we have with our surrounding communities. Towards the end of April, a local hospital received new face masks which required fit testing on the employees who were going to be wearing them to protect themselves and their patients. The test requires each employee to put on a face mask, and then put on a reusable test hood. One physician was very uncomfortable wearing a hood previously worn by peers who may have been exposed to patients sick with COVID-19. The hospital reached out to FLEXcon to ask if we might be able to come up with a single-use solution. Within 24 hours we were able to create a prototype for testing. We are happy to be able to provide a solution to this challenge that many hospitals find themselves faced with.
• Disposable - Disposable single-use product that prevents cross-contamination between several users.
• Full Visibility - Optically clear PET material that provides full visibility and easy reading of test page.
• Sturdy Structure - Opening remains in position for an easy application of the nebulizer nozzle.
• Comfortable - Great for claustrophobic users as it provides 360° visibility.
• Recyclable - Made of PET material that can be easily recycled.
• Use - Can be used with any respirator Fit Test kit.
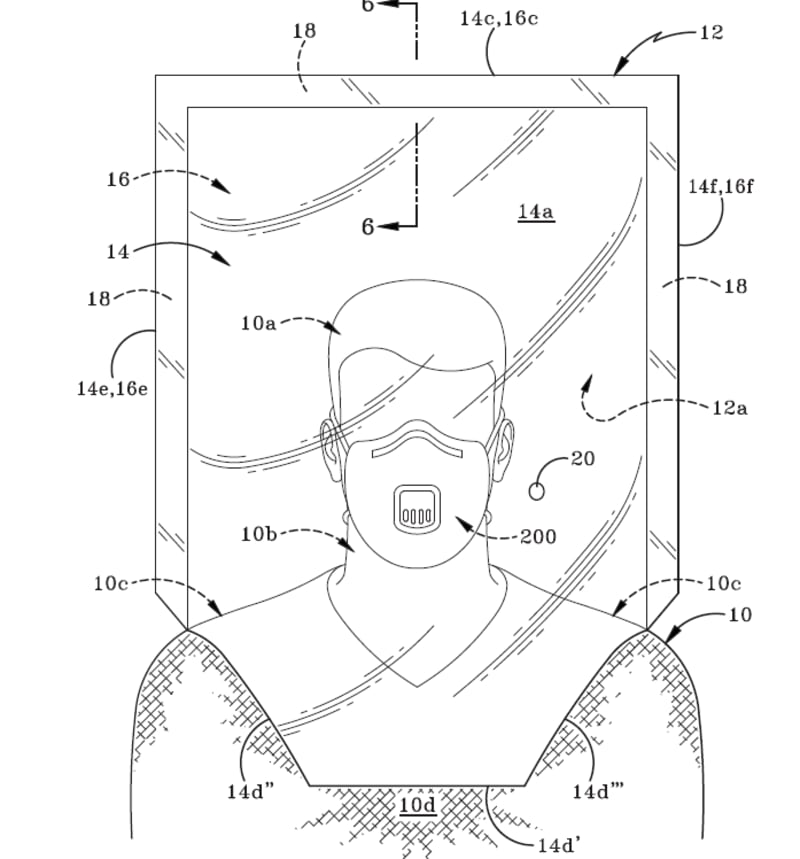
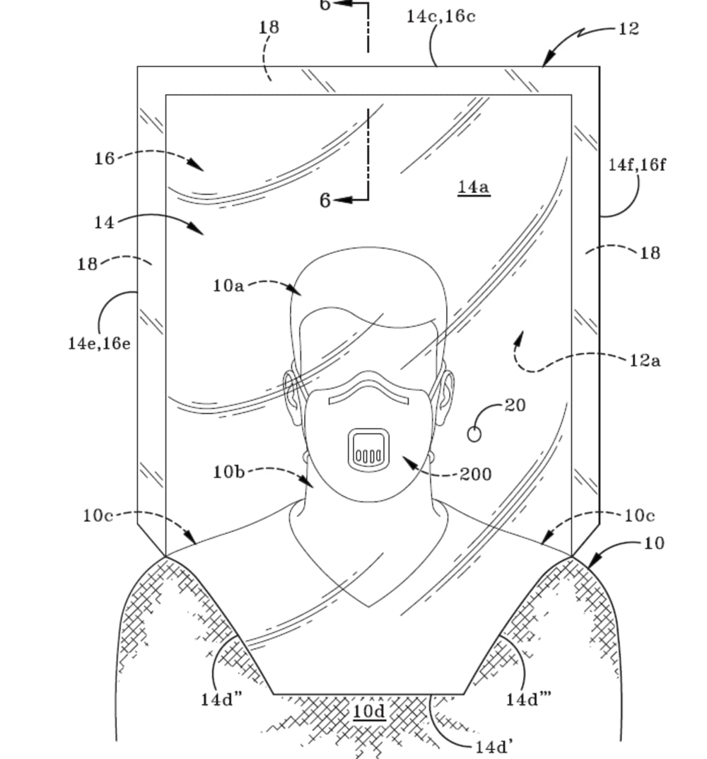
A single use disposable respirator fit test hood includes front and rear panels joined together along a left and right side edges, and a top edge with an adhesive, particularly a Pressure Sensitive Adhesive. The front panel is provided with an aperture through which test substances are introduced into interior cavity defined by the front and back panels. The test subject inserts their head through an opening defined by the bottom edges of the front and rear panels. During fabrication, shoulder pieces are cut off the front and rear panels to give the bottom edges a generally truncated V-shape. A portion of each shaped bottom edge rests on the test subject’s shoulders. The hood is able to remain upright because of the thickness of the film used for the front and rear panels and the presence of the strips of pressure sensitive adhesive.
Like this entry?
-
About the Entrant
- Name:Michael Merwin
- Type of entry:individual
- Software used for this entry:Cad
- Patent status:pending


