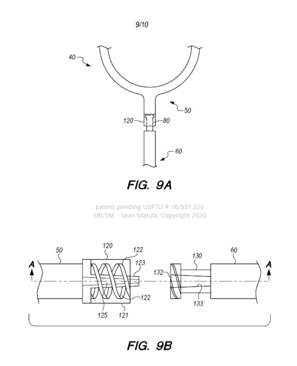
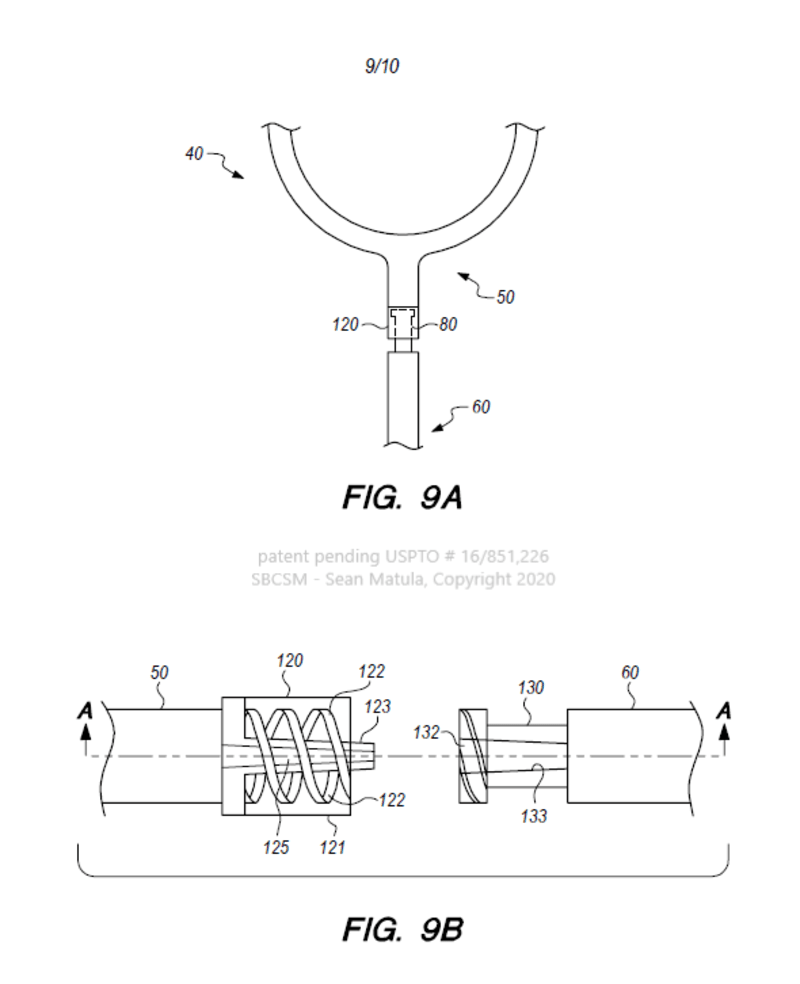
A stethoscope reinvented for modern healthcare. By using engineering controls, separating the stethoscope into an upper and lower section, you can greatly reduce the risk of infectious disease transmission and hospital acquired infections.
Using a simple luer-slip design already common in the healthcare setting this adapter converts existing stethoscope on the market in seconds and can be used for all new stethoscopes.
The upper sections is assigned to the medical provider, reducing cross contamination from provider to provider.
The lower section is assigned to the patient, reducing cross contamination from patient to patient with the head of the providers stethoscope.
Designs include metal free and a new re-designed upper section that can be worn around the neck. The simple plastic adapter can be produced quickly and for very minimal cost. In addition the design can be 3D printed for rapid adaptation.
Research has shown that “47% to 86% of health care workers do not disinfect their stethoscope regularly and only 6% to 15% disinfect their stethoscope after every use" (Mayo Clinic Proceedings).
Application for this is global, with an estimated 1 million beds in the US alone. This includes staffed beds, acute care and ambulatory / surgical centers. This does not include assisted living facilities, prison populations and other specificity care.
The annual sales of stethoscopes is estimated to be at 120 million annually. With a projected compound annual growth rate of 5% over the next five years. The global sales market for stethoscopes is estimated to be around $373 million.
This device is simple, cheap and effective. Now more than ever the world needs a way to combat infectious disease spread.
Video
Like this entry?
-
About the Entrant
- Name:Sean Matula
- Type of entry:individual
- Patent status:pending


