This is a novel internal combustion engine utilizing a unique multi-link configuration. This solves problems achieving variable compression and extremely long stroke, when combined yields high volumetric efficiency, significantly reduced engine size, higher torque, and fuel efficiency. Benefits include use of lower cost fuels, higher engine efficiencies and greater torque over a broad RPM range compared to conventional engine configurations. In addition, a savings of approximately 28% in physical engine size is possible compared to engines of equal stroke to bore ratios.
The novel multi-link permits a very long stroke in a small form factor. The long stroke allows an expedient means of implementing variable compression thru the use of variable intake valve timing currently in use today. The engine control computer would be capable of “on the fly” intake valve control that would adjust the compression ratio for load, RPM, transmission gear selection, and fuel variations. The long stroke yields much higher volumetric efficiencies; producing more energy out of the fuel being consumed, and possible elimination of pumping losses that most engines suffer from in use today. In addition, exhaust temperatures and exhaust noise levels are reduced.
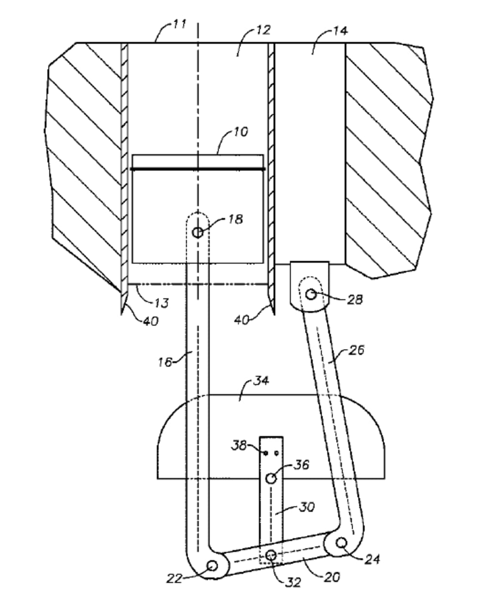
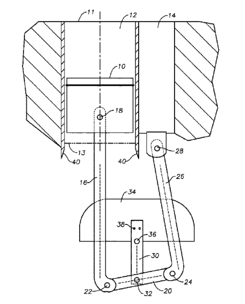
The Multi-link design permits a very high stroke to bore ratio in a small form factor without needing prohibitively long connecting rods to clear cylinder walls during a 360-degree crankshaft rotation. The multi-link controls the piston’s connecting rod movement in a significantly reduced angularity to prevent cylinder wall interference. The crankshaft is also off-set from the cylinder’s center line to facilitate the multi-link movement. Referring to illustration #1, (10) is the piston, (16) is the connecting rod, (34) is the crankshaft counter weight, and the crankshaft rotates around location (36). Illustration #2 shows the prototype engine with the piston at top dead center. The prototype has a stroke to bore ratio of 2.9. Conventional diesel/gas engines on the road today have a ratio close to 1. Large ocean-going marine engines are 2.7. and up to this point represent the highest volumetric efficiencies of all engines. This multi- link engine design achieves even greater potential efficiencies in a significantly smaller footprint. As an example, a connection rod with a length of 14” would be needed to equal the 2.9 ratio of the prototype for the same bore of 1.127” and stroke of 3.225”. This is a saving of 9”. See the video provided on the prototype and engine running. Compression ratio is manually set by cam adjustment on the prototype. Market applications: long haul diesel trucking, ocean going marine engines, electric power generation, off shore drilling platforms, automotive, including hybrid electric vehicles.
I am the inventor and have assigned all rights to the US patent to the University of Texas, UTA. My wish is for them to use proceeds from this patent to fund engineering scholarships and continue our efforts to help humanity. Any awards granted from this contest will go UTA for engineering research.
Video
Like this entry?
-
About the Entrant
- Name:Wesley Pettinger
- Type of entry:individual
- Software used for this entry:Lotus and METLAB pressure simulation
- Patent status:patented

