Engine cooling method which is implemented by alternating it with the thermodynamic cycle. When the control unit deems it appropriate, the engine changes its operating mode for several engine revolutions, interrupting its thermodynamic cycle and activating this cooling method.
This cooling method is an evolution of the Bosch WaterBoost concept, as it combines it with the inverse concept of cylinder deactivation. It comprises two actions:
- Changing the poppet valves’ operation, so that the engine, instead of functioning in its thermodynamic cycle that produces work, functions in a novel "ventilation cycle" whose mission is to sweep the combustion chambers, without compressions, nor combustions, nor expansions occurring.
- Injecting a coolant fluid with a high specific heat (for example, water) inside the combustion chambers, so that said coolant fluid acts as a heat vector, absorbing it and evacuating it outside. This injection can occur sparingly during the thermodynamic cycle as in Bosch's WaterBoost concept, or freely in any quantity and at any time during the "ventilation cycle", as its continuous scavenging of the combustion chambers allows it.
These two actions result in the most effective way of engine cooling, thus achieving:
- A superior maintenance of the engine materials.
- A better combustion, resulting in increased power and efficiency.
- In a correct combination with the EGR valve, a great reduction in NOx emission and other undesirable polluting compounds.
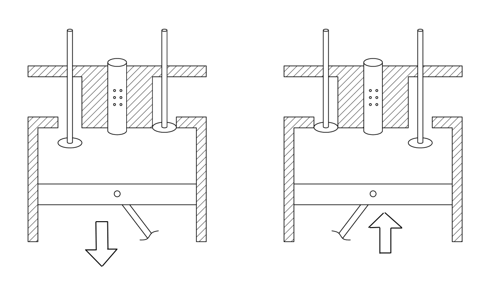
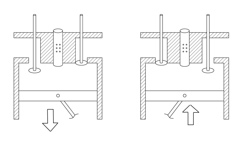
The “ventilation cycle” consists of only two strokes:
- Intake stroke: where the intake valve is open during all the piston's downstroke.
- Exhaust stroke: where the exhaust valve is open during all the piston's upstroke.
When this cooling method is activated in an engine for several revolutions, additional valve openings occur:
- in exhaust valves, at what should be compression stroke 2, and
- in intake valves, at what should be expansion stroke 3.
In this way, while the cooling method is in place, the engine is only executing two strokes A and B, performing twice as many "ventilation cycles" than when performing the 4-stroke one:
- Intake stroke A, which is the same as stroke 1 of the 4-stroke cycle.
- Exhaust stroke B. Since the exhaust valve opens, it is no longer a stroke 2 of the 4-stroke cycle, but it becomes an exhaust stroke B.
- Again Intake stroke A. Since the previous stroke has been an exhaust stroke, and moreover at this stroke the intake valve opens, it is no longer a stroke 3 of the 4-stroke cycle, but it becomes another intake stroke A.
- Again Exhaust stroke B, which is the same as stroke 4 of the 4-stroke cycle.
Multiple existing solutions can be used to vary the operation of the valves. Some solutions are successfully well proven solutions, such as those used in cylinder deactivation, in the compression release engine brake (Jake brake), or in sliding camshafts. There are other solutions that are also already well tested, such as MultiAir (Fiat), Valvetronic (BMW) or Freevalve (Koenigsegg).
Like this entry?
-
About the Entrant
- Name:Jose Luis Bermudez De Castro
- Type of entry:individual
