

Aeroflux presents a method for hybrid electric vehicles to reach their destinations more sustainably, efficiently, and reliably with the patented EasyPower+™ engine that leverages advancements in material sciences, aerodynamics, and turbine technology to utilize hydrogen as a combustible fuel source. The EasyPower+ ™ engine then optionally drops into an OEMs new hybrid-electric vehicle, eliminating the need for capital intensive precious metals and thereby produces vehicles that go farther, weigh less, allow for cleaner more efficient hydrogen combustion, and refuel quicker than those with internal combustion, or fuel cell driven engines. According to the EPA, the automotive industry is responsible for 27% of all the greenhouse gas emissions in the United States. States are now starting to prohibit the release of new Internal Combustion Engine (ICE) Vehicle designs. Although, EV's, offer a better alternative than standard ICEs, they are not fully sustainable because they are expensive, take a long time to charge, and can only drive limited distances. Next come the real problems with lithium mining and coal burning emissions for battery recharging. However, using the EasyPower+™ engine, causes less than half of the CO2 emissions of the ICE. The vehicle would have a superior range and have conventional refueling times. Additionally, there are virtually no Sulfur Dioxide, Nitrogen Oxides, or Particulate emissions.
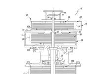
An EasyPower+™ engine has a compressor section, a turbine section and a central shaft that mechanically links both the compressor and turbine sections. The compressor and turbine sections would each have a plurality of symmetrical annular disks (stack) that are each aerodynamically configured for increased efficiency. The compressor and the turbine disk stack effects are a feature of Nikola Tesla’s, pre-aerodynamics, bladeless engine design and are known to accomplish the effects of the conventional turbine and compressor by use of boundary layer air adhesion instead of impulse blades. However, the effectiveness and efficiency of the original bladeless compressor and turbine is drastically improved due to the embedding of aerodynamic features into Tesla’s original design. The new aerodynamic nature of the disks/stack cause each disk thereof to form two opposing airfoil/Aerobie™ shapes either head to head or trailing edge to trailing edge across the through hole exhaust area. The present EasyPower+™ engine increases the efficiency and flow advantage of the shear disk design, capitalizing on boundary layer air flow, adhesion and the Bernoulli lift advantage without over complicating the design of the disks/stack. This maintains the simple stamping or ceramic HIP manufacturing of the disks to reduce the part count and increase the reliability over ICE.
Aeroflux will introduce EasyPower+™ to OEM’s in North America to become directly installed in their new vehicle designs, starting by targeting 3,390 fuel celled and pilot vehicles as a Beach-Head. This is the number of fuel celled Toyota Mira vehicles sold in 2021 along with our envisioned test vehicles. This is just 1% of our Serviceable Market. The total number of electric vehicles in North America, is approximately 1.6M.
In conclusion EasyPower+™ is positioning to disrupt the automotive engine industry.
-
Awards
-
2023 Automotive/Transportation Honorable Mention -
2023 Top 100 Entries
Like this entry?
-
About the Entrant
- Name:David Bosley
- Type of entry:individual
- Software used for this entry:Pro/E Creo, SolidWorks, Cosmol


