This is a unique new approach for Voltage References, not based on zener or bandgap use, that can be built using Bipolar, JFET, or MOS process technologies. The voltage output level is determined by the ratio of resistors, capacitors or inductors. Absolute part values, transistor gain, and offset are not critical. This allows lower cost ratio matched parts instead of high cost tight absolute tolerance parts to be used. By relying on passive component (r,c,l) ratios instead of transistor parameters, an extremely robust circuit is obtained. The transistors do not need to be matched and DC leakage currents have minimal effect. This is useful in high temperature automotive and industrial applications or radiation environments. In these applications, most other complex integrated circuits are more expensive and less reliable.
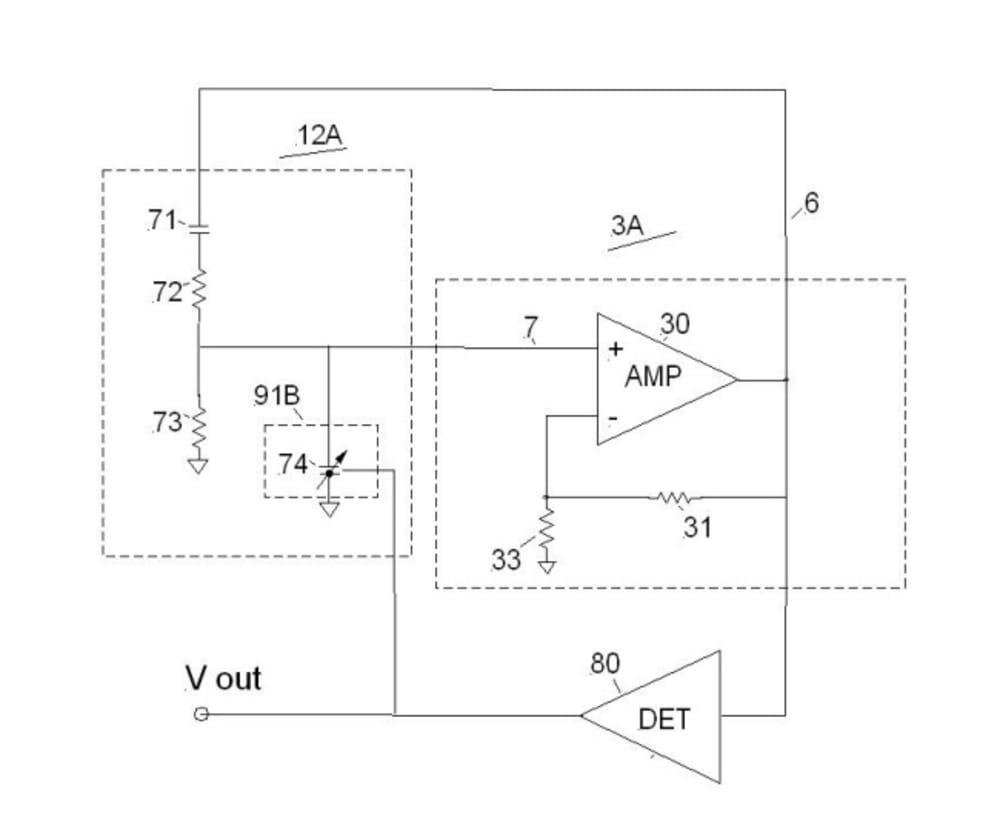
This reference is based on an oscillator having variable loop gain. Only when the oscillator loop gain is at least the value of one does the oscillator produce an AC (alternating current) signal which is converted to a DC signal. Negative feedback of the DC signal is used to control the loop gain of the oscillator circuit by varying the impedance of a voltage controlled capacitor or current controlled inductor. By keeping the loop gain at or close to the value of one the DC signal is also kept constant.
Silicon JFET, CMOS, and also Bipolar demonstration versions of this circuit have been built.
ADVANTAGES:
1/Technology independent allowing use of Si, GaN, SiC, etc. material types as JFET, MOS or BJT style transistors.
2/Output is determined by the ratio of resistors, capacitors or inductors.
3/Transistor gain and offset are not critical.
U.S. Patent 7,456,700 “Variable loop gain oscillator system”
Like this entry?
-
About the Entrant
- Name:Fred Mirow
- Type of entry:individual
- Software used for this entry:SPICE
- Patent status:patented
