The “Pillow Purifier”© is a semi-automated device for cleaning and sanitizing pillows. Bacteria, viruses, dead skin, saliva, oils, hair chemicals, fungi, dust mites and their feces, are among the common items found on the surface and within pillows when a guest is spending the night in a hotel. On rare occasions even lice or fleas. Even though pillow cases are cleaned, the pillow itself gets contaminated. High quality pillow covers that could prevent internal pillow infestation are costly, uncomfortable and can still harbor surface organisms.
“The National Library of Medicine recommends replacing pillows every three years… a major cause of allergies and upper respiratory infections. Cleaning them is nearly impossible since fibers break down, mat up and, over time, won't offer neck and head support.”
Professor Ashley Woodcock said: “We know that pillows are inhabited by the house dust mite which eats fungi, and one theory is that the fungi are in turn using the house dust mites’ feces as a major source of nitrogen and nutrition (along with human skin scales)...”
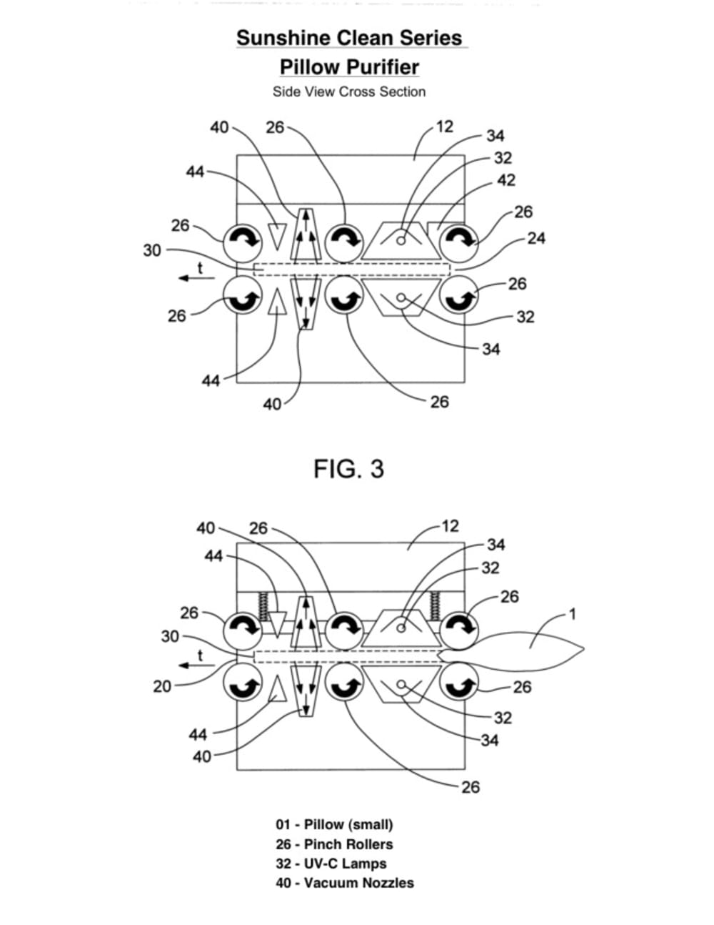
The Pillow Purifier© is mainly targeted to the hospitality and cleaning industries but not limited there. Utilizing UV-C light and vacuum technologies, it can automatically clean and sanitize a pillow in several minutes. Killing all forms of bacteria, viruses, fungi, dust mites, and etc. then collecting all the associated debris. UV-C Light disinfection has been used in hospitals, food processing, water treatment, and HVAC systems for over 30 years. The technology is proven and recognized by the EPA, FDA and USDA as a valid and effective means of eliminating biological contaminants.
The unit works by using motor driven pinch rollers to pull the pillow through the chamber and out the other side. These are activated when a pillow is presented to the entrance and pinched between the first two rollers. At this point the pillow is automatically taken through the device where UV-C lights shine onto all surfaces. The duration of exposure is controlled to kill the largest of possible organisms. Next in the path is a special high volume HEPA vacuum which sucks out all forms of debris. Once a pillow is fed in, the cleaning person can go about other tasks until the unit is ready to be fed another pillow. Variants of the machine can include steam, chemical or other forms of sanitizing or even fragrance enhancing. The device is small enough to fit on a maids cleaning cart to be taken from room to room and simply plugged into a power outlet.
Through innovative use of components and by building the inner framework out of sheet metal it is anticipated that the device can be made cost effectively & priced comparable to similar industrial supplies. Many hotel chains are starting to offer ultra-clean rooms for their guests as they begin to see the need & potential for extra revenue.
Isn’t it time that we had a way to clean and sanitize our intimate bedroom furnishings, especially in shared places?
Like this entry?
-  About the Entrant
-  Name:Anthony Noto
-  Type of entry:individual
-  Patent status:pending


 
    
   
