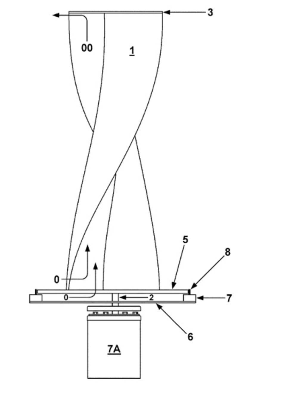
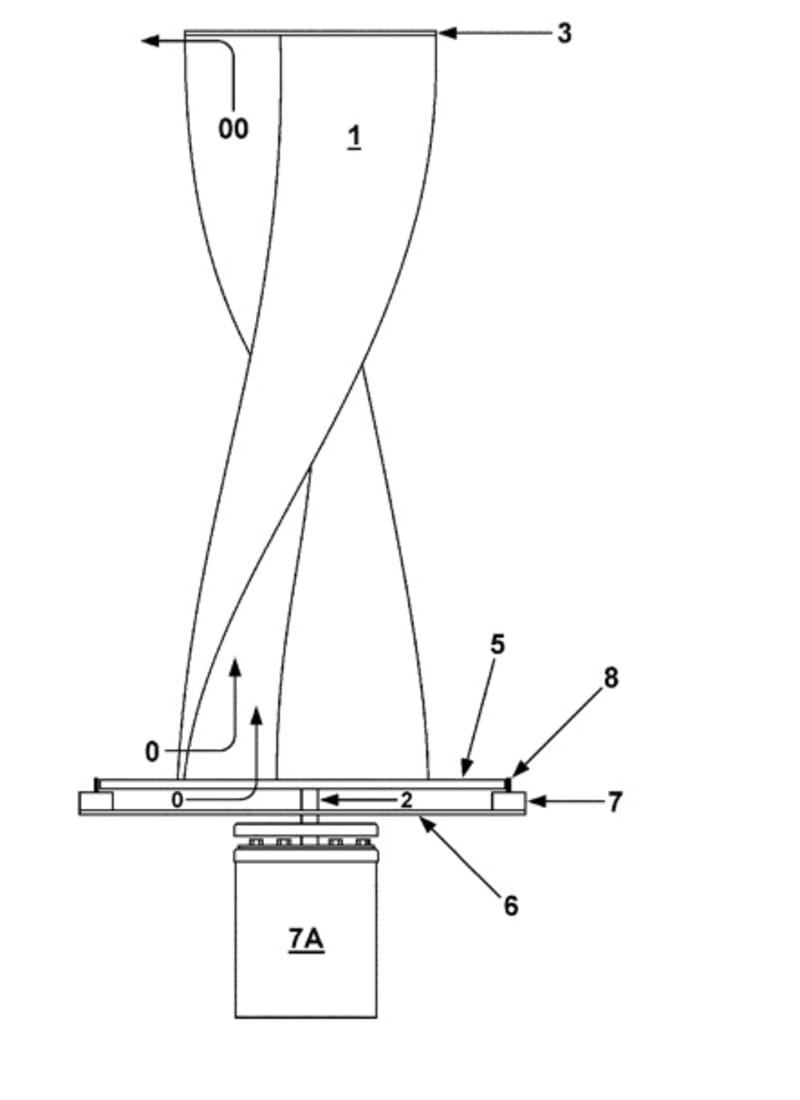
U.S. patent 7,976,267: “Helix Turbine System and Energy Production Means” is a modified helical vertical axis wind turbine. The invention was designed to be mounted on the peaks of roofs, edges of buildings, or with a conical or dome shaped base at the base to take advantage of the turbulent and accelerated wind energy produced. Vertical axis wind turbines can capture turbulent and non-directional wind from all directions and can begin rotating at lower wind speeds than horizontal axis wind turbines.
The invention can be found on HelixTurbineEnergy.com along with valuable wind turbine information.
The patented modified helical vertical axis wind turbine improvements include:
1. The helical wind turbine’s blades have a solid disc attached to the top edge for redirecting vertically flowing wind energy into perpendicularly flowing horizontal wind energy.
2. A conical or dome shaped member at the base of the turbine or the turbine is installed on the peaks of roofs or on the preferable windward edges of buildings for redirecting perpendicularly flowing fluid into axially flowing fluid entering the base of the turbine.
3. The drive shafts of multiple mini generators are in continuous contact with the peripheral edge of a solid or hollow circular member, attached to one end of the turbine body or drive shaft, for producing faster generator drive shaft revolutions per minute. Generating electricity, exponentially increases based on the circumference of the circular disk, the circumference of the mini generator’s axial drive shafts and the number of mini generators used.
4. A preferably rotatable wind or fluid diverter preventing wind or fluid from impacting the oncoming turbine blades and allowing wind or fluid to impact the receding turbine blades.
5. Rotatable wind or fluid diverters for increasing fluid flow entering turbine body’s blades, increasing turbine rotational speed.
6. The modified helical vertical axis wind turbine also comprises a rotatable enclosure including the wind or fluid diverter of 4, the wind or fluid diverters of 5, and a tail member for maintaining optimal direction into oncoming wind or fluid.
7. Two counter rotating turbine bodies are in rotatable contact at the top circular disc edge and at the hollow bottom circular disc edge. Wind or fluid diverters direct wind or fluid into each of the turbine’s outside receding blades and prevent fluid from hitting the inside oncoming turbine blades.
Multiple turbine body assemblies, using different combinations of disclosed elements, produce multiple preferred embodiments.
The invention and preferred embodiments of the invention allow the turbine to be inverted and placed in a flowing body of water (river) for producing a continuous power source, unlike wind power electricity generation, and prevents the damming of rivers for producing electricity.
An added environmental benefit to the invention includes the fact that birds do not fly into helical vertical axis wind turbines, unlike horizontal axis wind turbines which kill birds while they are rotationally operating, and helical vertical axis wind turbines are almost silent, which means they can be installed in cities and urban areas.
Like this entry?
-
About the Entrant
- Name:James Burrell
- Type of entry:individual
- Software used for this entry:Drawing program
- Patent status:patented


