To create doors, walls, roofs, barriers, security shutters and many other planar surfaces that can span large contiguous areas but may also be stored in a compact stack for transport or architectural needs. (Panels may also be curved for arches or domes etc.)
The individual panels may be made of many types of solid materials, or may be of composite, laminated, sandwich, or many other types of construction. Panels can be as thick as the needs of the application require.
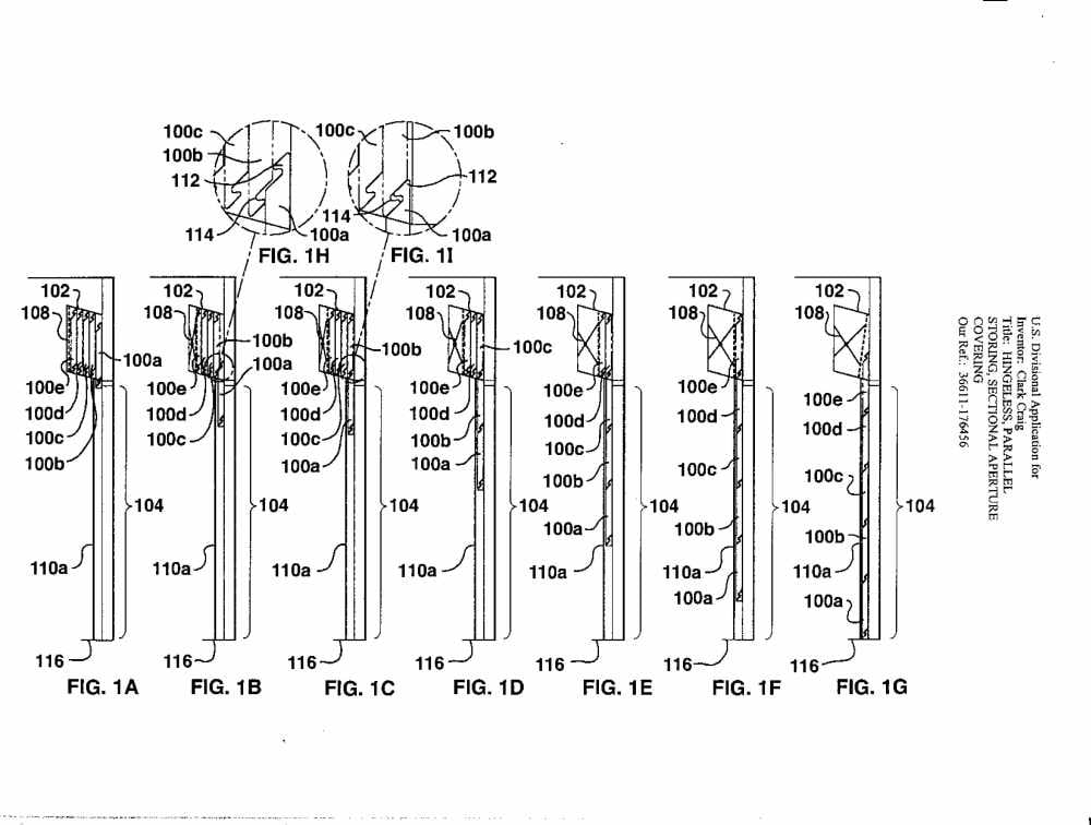
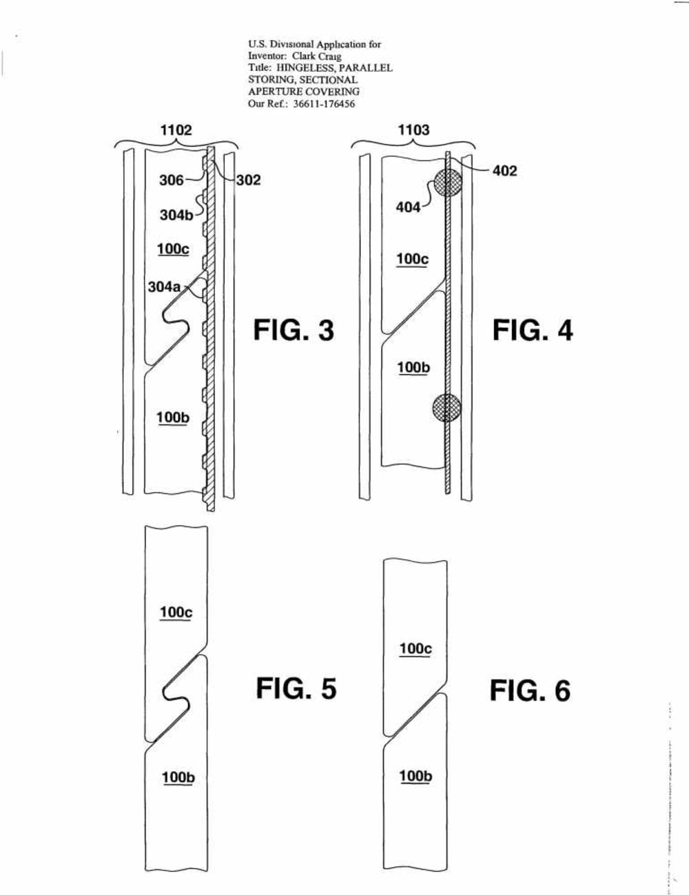
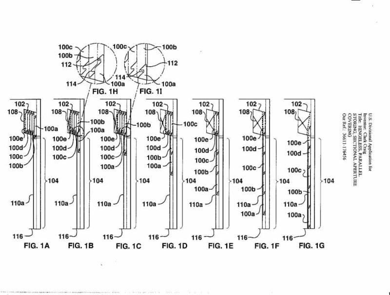
A typical panel may have two edges, a leading edge and a trailing edge. The leading edge engages the trailing edge of the panel deployed immediately ahead of it and the trailing edge engages the leading edge of the panel deployed immediately after it. In this fashion, a "train of panels" is formed that creates a much larger surface on one continuous plane.
In one iteration, a garage door assembly may consist of a storage box, mounted horizontally above the garage door opening that also serves as a housing for a drive and counterbalance means. A straight vertical track section at each side of the door opening guides the ends of each panel as it exits a slot in the storage box and links up with the proceeding panel.
In a garage door system this design would eliminate all hinges, bolts, nuts, and washers plus their assembly. Also the installation could be done without lift equipment by first installing the overhead box then inserting one panel at a time into the back of the storage box. Safety is also enhanced by having the drive and counterbalance parts housed within the panel storage box.
In a security shutter system,there would be a horizontal track above and below the window opening. A stack of panels would be stored in and deployed from two vertical storage boxes, one at each side of the window opening. For example, a 6 foot span could be protected by six panels each a foot wide. If the panels were 1" thick, and three were deployed from each side, the boxes would only have to be about 3" deep and could be hidden behind the existing decorative colonial shutters or the like. In new construction the boxes could be concealed within the walls.
This stacking panel system is not limited to planar surfaces but the panels could be curved in one or more directions to form arches, domes, or free form combinations of straight and curved section.
Some ideal uses could be; Garage Doors, Hanger Doors, Security Shutters, Hurricane Shutters, Ballistic/Blast Shutters, Blast Walls, Hospital/Housing Walls/Floors/Roofs or to replace "double hung" windows (panels would consist of framed glass on a single plane), Pool or Pit covers Patio covers, Sun shades, Solar Power Panels, Pick-Up Bed covers, Sun Roofs, etc.............
In addition this design can replace almost any application where telescoping doors are now used and will result in a single track rather than multiple tracks and less space needed for the door when fully deployed.
Video
Like this entry?
-
About the Entrant
- Name:Clark Craig
- Type of entry:individual
- Software used for this entry:SolidWorks
- Patent status:patented


