Method of the invention is aimed at manufacturing track membranes. A track membrane is a thin polymer film with through pores which are formed by penetrating a special substance into and through the material of a polymer plate and then removing the traces of penetrated particles from the matrix material thus forming pores. The track membrane may find use in various fields of industry as conventional membrane filters for purification of liquid substances from solid contaminants.
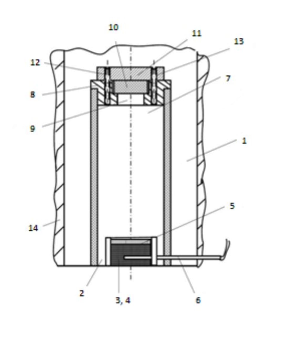
The method is based on the principle of Super Deep Penetration (SDP). A device for realization of the method (see Figure) is a shell (1) in the form of a tube one end (2) of which contains a cartridge (3) with an explosive material (4) and working substance (5) in the form of a solution of water-soluble salts. Detonator (6) is used for detonation of the explosive material (4). Inserted freely into the other end (7) of the shell is a membrane holder (8) with an open-bottom cavity (9) for receiving a membrane matrix (10) in the form of a plate that can be inserted into the cavity (9) of the holder (8) so that when the holder (8) is inserted into the shell (1), a major part of the membrane surface remains exposed to the interior of the tubular shell. The back end of the holder is closed by a cover (11) which is attached to the holder, e. g. by screws (12 and 13), whereby the membrane matrix is secured in the holder. The shell with the cartridge that contains the explosive material and the working substance as well as the holder with the matrix of the material to be treated is placed into an explosion-proof chamber (14), and the explosive material is detonated to cause an explosion.
When the explosive material is detonated, the particles of the water-soluble salt interact with the matrix in the form of a high-speed jet with the velocity of particles in the range of 3800 to 4200 m/sec and penetrate deep into and through the polymer material of the plate. Under the effect of the explosion, the holder with the polymer plate and cover is ejected from the shell into the explosion-proof chamber. The cover is disconnected from the holder, the matrix is extracted, and is subjected to treatments with water that dissolves the water-soluble particles or washes them out of the membrane matrix thus forming microscopic openings that pass through the polymer plate. Then the polymer plate is sliced into thin pieces that can be used, e. g., as filter plates.
The membrane matrix has a thickness in the range of 10 mm to 20 mm, and the track membranes have a thickness in the range of 5 ?m to 50 ?m. In view of low manufacturing cost and only a slight deviation of the holes from the rated diameter (within the limits of 10 to 20 %), the track membrane of the invention may be advantageously used as a dialysis filter.
Like this entry?
-
About the Entrant
- Name:Oleg Figovsky
- Type of entry:teamTeam members:O.Figovsky
A.Trossman
L.Shapovalov
D.Beilin
A.Leykin - Patent status:pending

