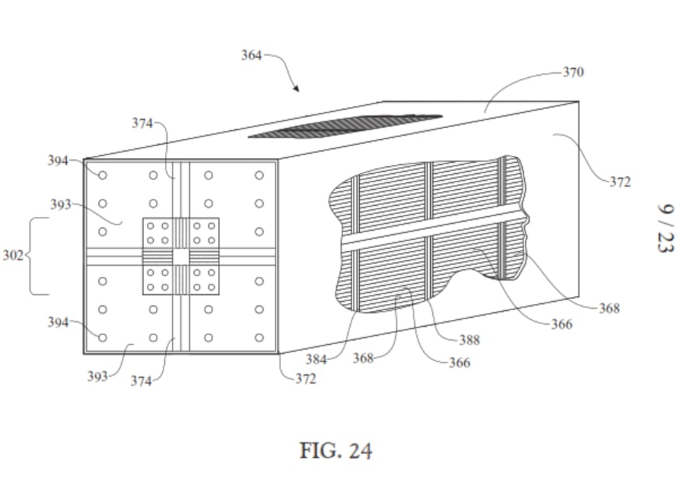
An electromagnetic induction device having an array of linearly arranged wires spanning between a pair of conductor plates forming a parallel circuit between each of the wires. The wires are arranged forming a plurality of planes, which are stacked into layers. Multiple induction devices are assembled together providing at least one “inductor” and at least one “inductee”. A moving magnetic field comprised of concentric circles is created in and around the at least one inductor when a cyclic current flows in the said wires. A voltage and current is induced by the said moving magnetic field. The field propagates then collapses through the wires of the inductees in a perpendicular manner, inducing therein a cyclic voltage and a current flow. The “inductor” and “inductee” can be shaped and assembled in a variety of form factors, including a linear arrangement, a toroidal arrangement, a stacked arrangement, and the like.
I realize that, to those unfamiliar with magnetic phenomena, this invention could appear miraculous – the equivalent of getting electrical power from nowhere. But, in fact, the invention converts magnetic potential energy into usable electricity. It uses no fuel and requires no recharging; it is scalable, and has built-in redundancies.
A nominal generator of my invention, of a size that would fit into a man's shoebox (not including the automobile battery required for the start-up cycle) may have a power rating exceeding a jet engine, as the voltage induced is principally dependent on the frequency of the inducing current. For example, the net output per second at 400Hz is 16.871Kva (22.6Hp); at 800Hz, 33.642Kva (45.1Hp); at 3KHz = 128.008Kva (171.5Hp); at 6KHz = 256Kva (343Hp); at 60Khz = 2,560Kva; at 600KHz = 25,60Kva; at 780KHz = 33,254Kva.
Like this entry?
-
About the Entrant
- Name:Harold Goldbaum
- Type of entry:individual
- Patent status:pending

