My oscillating engine (US patent no. 8,347,8470) features an extremely robust and compact structure as the only free space inside its body is a combustion chamber. The engine of this type with only three moving parts produces two power strokes per shaft revolution, and an engine of this type producing 2n power strokes per shaft revolution has only 2n+1 moving parts.
The shaft of this engine is supported along its full length; thanks to this specific loads in this engine are very low, which allows for employing highly efficient and clean thermodynamic cycles with extremely high pressures, like detonation-cycle or homogeneous charge compression ignition cycle.
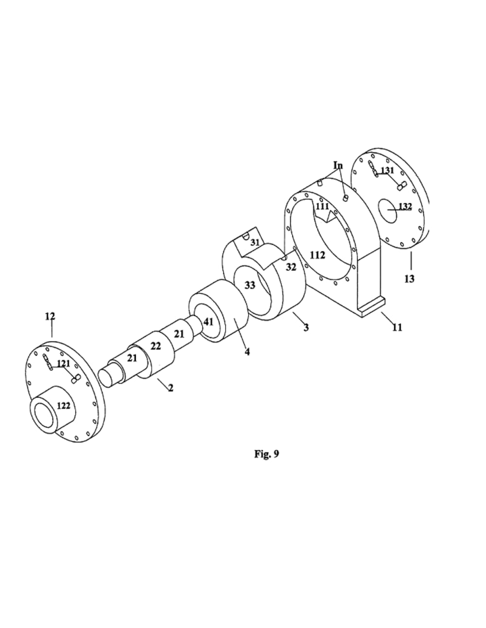
My oscillating engine features a very simple structure, much simpler than that of ordinary piston engine, as all its parts assume the general form of eccentric and can be made of a steel plate e.g. by water cutting.
This project aims at a prime mover that is much more compact, robust, fuel efficient, powerful, much less pollutant and which allows for a highly simplified process of manufacture than ordinary piston engines. The engine according to the invention, being much lighter and smaller than ordinary piston engines would be particularly suitable for light aerial and military vehicles.
A model of the engine mechanism was made of steel and tested. My plan is to create with my son a small highly innovative firm capable of making and testing prototypes of the engine. Moreover, the firm would develop, patent and offer for sale to US and European manufacturers other our technologies related to engines, aerial vehicles, transmissions (including highly innovative continuously variable ones (in preparation for patenting)) and many others.
Like this entry?
-
About the Entrant
- Name:Wieslaw Oledzki
- Type of entry:individual
- Patent status:patented


