The most popular and used batteries are those from types AA and AAA. They have different dimensions and it is impossible to replace one of them with the other type. This is problem for the consumers, because sometimes they purchase the false type and they can not use them, or the needed type is not available in the selected and additional time is lost for getting them. A problem with the rechargeable batteries – some chargers support only one of the types. There are available plastic container adapters which convert type AAA in AA, but they must be purchased separately and they are not available everywhere. The customers buying them, should know preliminary, that they will need them, what is difficult to predict in case of wrong type battery purchase caused by error or oblivion.
The proposed transformable battery fully solves the listed problems. The transformable battery can be easy transformed within seconds from AA type in AAA, and back transformed if the remaining part after the first transformation is kept.
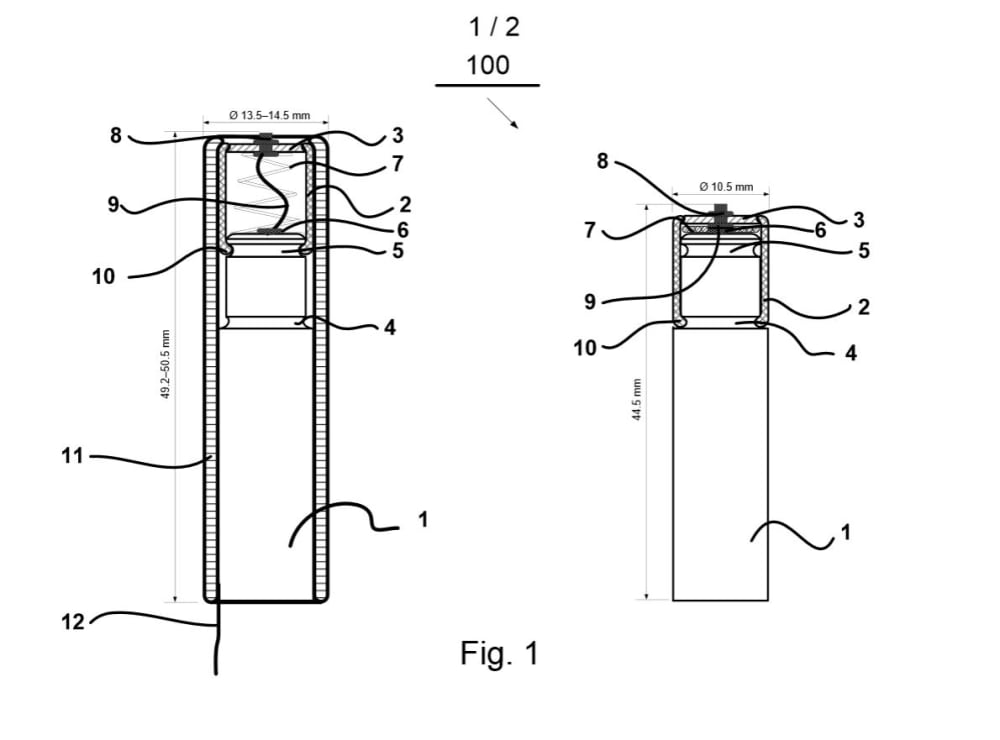
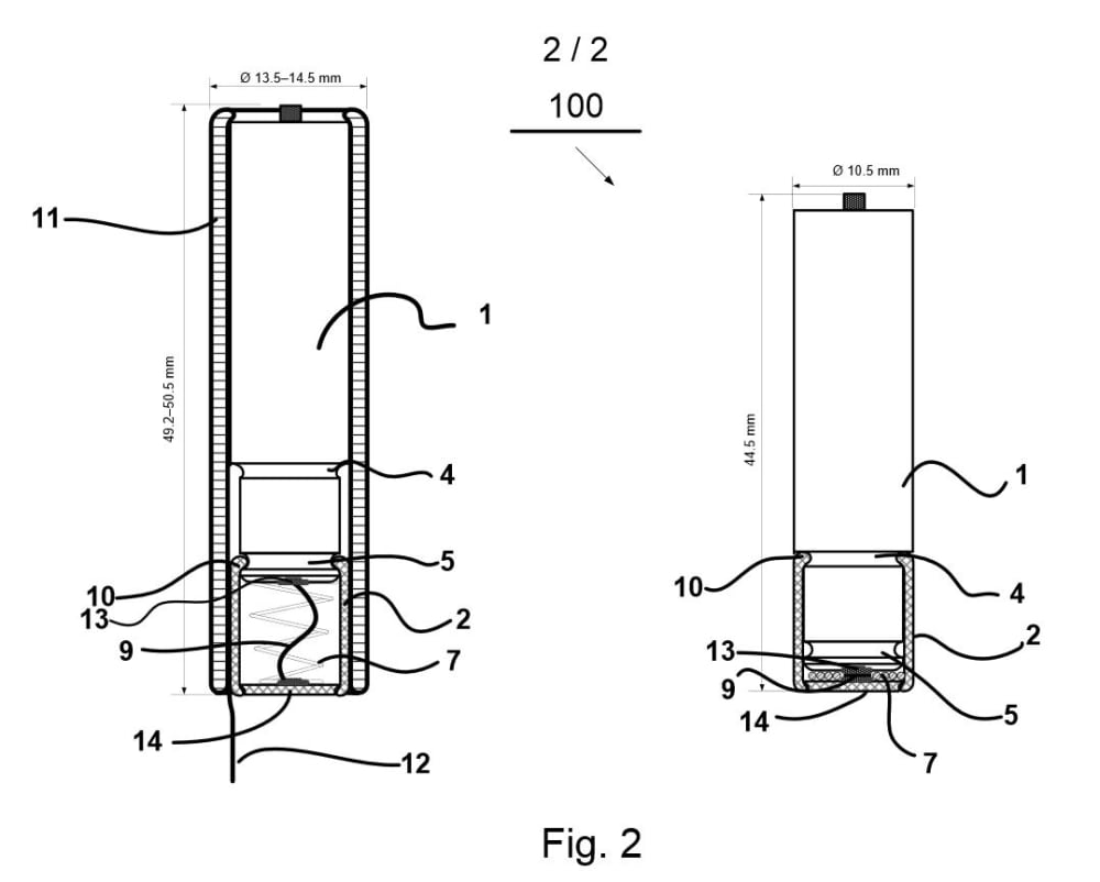
The transformable battery contains an electrochemical cell, which length is almost the same as AAA battery and same diameter. A part of it has reduced diameter. This part is inserted like a piston inside a cylindrical slider, which can be locked in two positions corresponding to both standard lengths of the batteries type AAA and AA. This whole assembling is inserted inside a cardboard, plastic or other recyclable material filler tube, which has the diameter of the AA type battery. When inserted, the slider is fixed in position corresponding to the length of AA battery, and thus the whole assembling is used as AA battery. When AAA battery is required, the internal assembling is pulled out from the filler tube by textile or plastic string, and with gentle pressing over the slider ending, locked in the position, where its length is identical to AAA standard length. When desired, the reverse conversion can be done also easy. The slider is pulled back at the position corresponding to AA battery length, and the assembling is inserted back inside the filler tube. The filler tube must be stored after the first conversion and kept available.
For more complete description of the present invention and its advantages, reference is made to the following description, taken in conjunction with the accompanying drawings (Fig.1 and Fig.2).
The principle of work of the proposed invention is following:
When assembled in the AA type battery, including the filler tube and with locked slider on groove 5, the battery has the dimensions of the standard AA battery and can be inserted in the battery holder, which work with AA type batteries. When AAA type battery is required, the external filler tube 11 is removed; the slider is pressed and locked at the groove 4. In this case the assembly can be used instead standard AAA type battery and inserted in battery holder working with AAA size batteries.
Like this entry?
-
About the Entrant
- Name:Milen Penev
- Type of entry:individual
- Patent status:pending


