This device uses manufactured containers which are connected via a modular connecter to heat fluids with solar energy. In essence, you reuse containers, connect them in series, and utilize the sun to provide heated fluids. There is energy saved by reusing normally discarded containers, and there is energy saved by utilizing the Sun for heating fluids. It is an optimal saving solution for a basic human need.
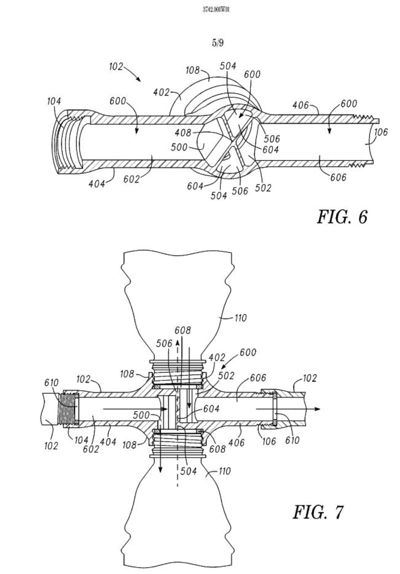
It is a perfect solution for seasonal needs such as heating pool water, or as a heater or a preheater for a hot water heater. Combined with a pumping source, it can be used for all types of water heating needs. A basic system has a pump, connecting lines, containers, connectors, valves, and a reservoir.The modular connector is an easily moldable component which can be set up to connect to the most popular manufactured containers which can then be expanded to incorporate any other type of a container via an adapter.
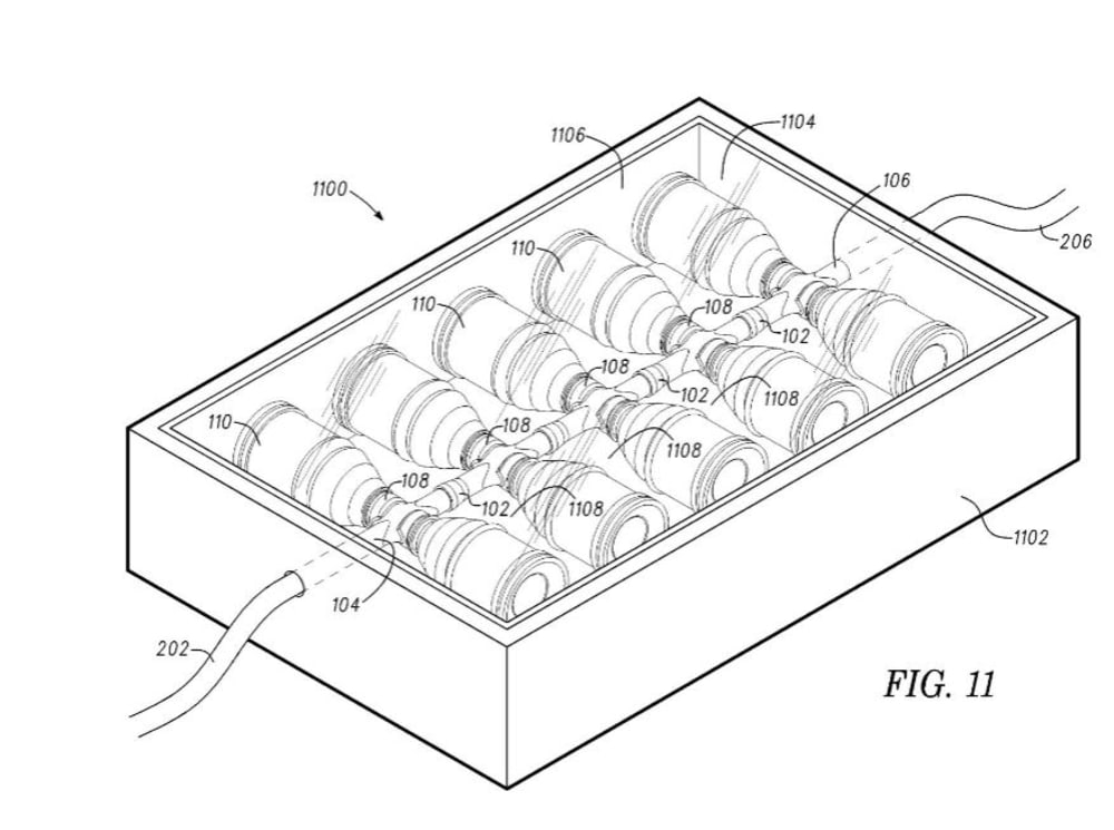
The heat capacity of the system can be further enhanced by containing the series of modules within a hot box. This hot box is a basic "green house" type heater which further traps the suns energy even during cloudy days to aid in heating the fluid circulating within the system. It is basically a box with a solar transparent covering such as glass or polycarbonate.
The system could heat fluid in a recirculated resevoir type of a system such as with a swimming pool or a hot water heater. It can also heat fluid in a single pass type of a system such as with a certain types of hot water heaters.
The heat capacity of the system can also be enhanced by introducing high heat capacity elements to the containers such as rocks or stainless steel masses. The containers can also be treated with coverantssuch as black paint to aid in heating. Also heat sinks such as shingles can be added to hot boxes to aid in holding heat for future transmittal to the circulating fluid.
Technolgy such as this could by utilized on many rooftops everywhere to be part of the heating system of homes or businesse for basic water heating needs, or it could be used to heat oils or other fluids which could then be used to heat the house via in floor tubing etc.
This type of heating could be simply utilized in places where other forms of energy is not readily available. The plastic molded modules are cheaply produced, and recycled containers are available most places. It could be used for showers in isolated places for example.
There are many different uses for this concept. The concept saves energy by using recycled containers, and it also conserves energy by utilizing the sun to heat a fluid.It is simple and cheap to manufacture. It is also simple and easy to use.
Like this entry?
-
About the Entrant
- Name:Michael Bonnette
- Type of entry:individual
- Software used for this entry:math cad
- Patent status:pending


