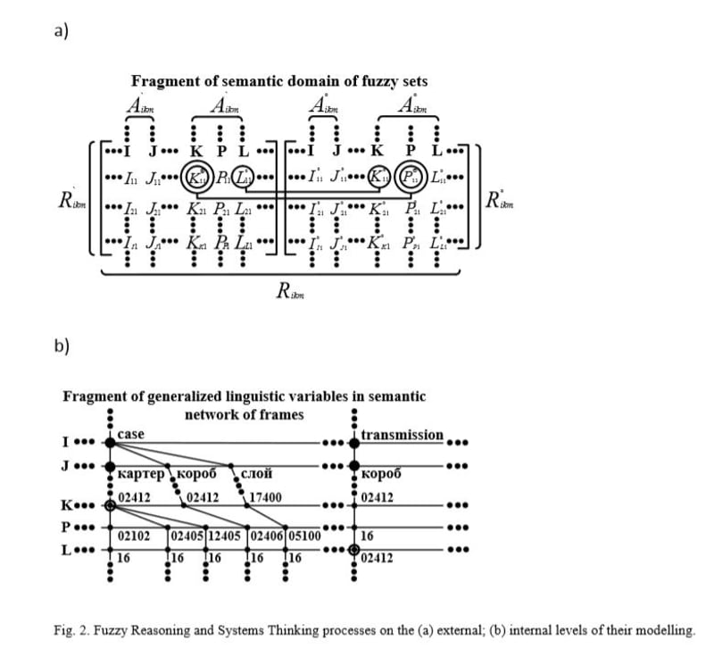
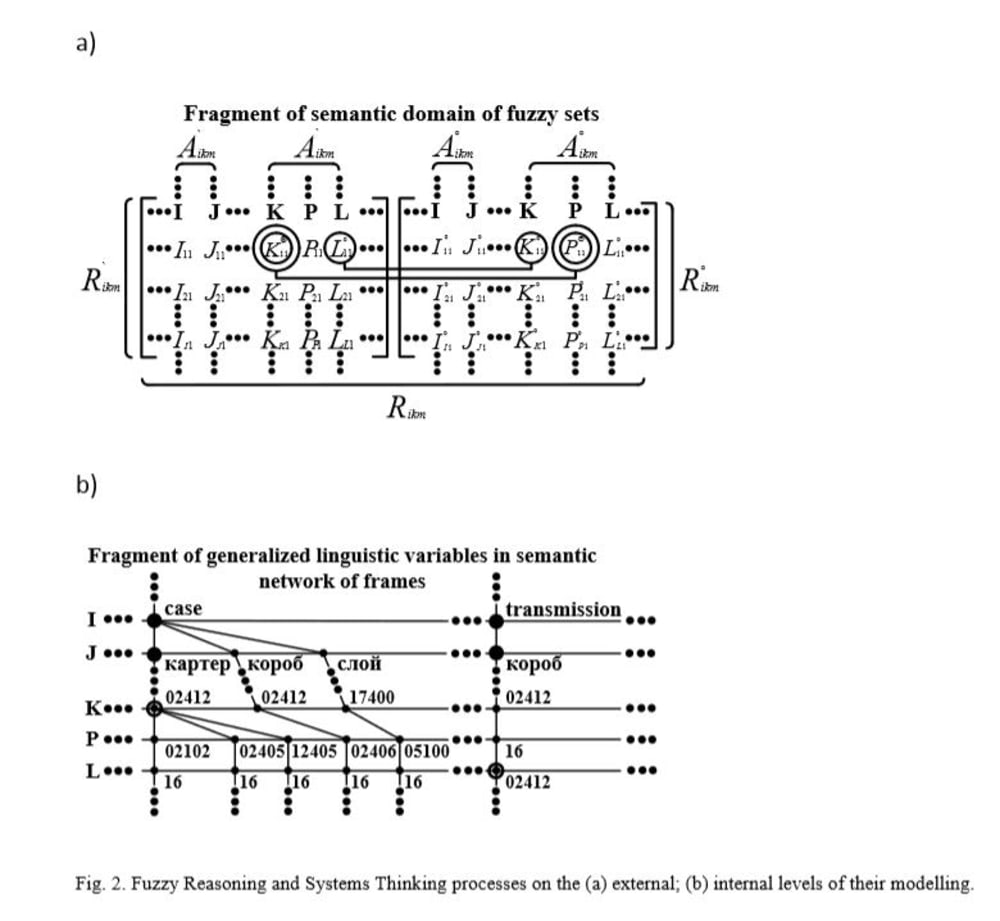
The use of proposed technology of Modeling of Intelligent Systems Thinking in Complex Adaptive systems is oriented on use in autonomous, intelligent Fuzzy Control and Information Complex Adaptive systems, that operate in real-time, fuzzy conditions, heterogeneous subject areas and multilingual communications, there the situations are unknown in advance, fuzzy structured and not clearly regulated. The technology consists in extracting of relevant data, information and knowledge from texts (speech) in various natural languages, within dissimilar subject areas for implementation of fuzzy control of data, information and knowledge in light of representing them in knowledge bases and organizing on basis of them the processes of Reasoning and Systems Thinking under uncertainty and in Fuzzy Environment. The technology is formalized using Fuzzy Logic, Situational Control theories, Linguistics, Artificial Intelligence, Knowledge base technologies and is defined by methods of a) Situational Control of fuzzy data, information and knowledge, b) Knowledge Representation, Generalization and Explanation, c) Modeling of Fuzzy Logic Inference and Decision making, d) Intelligent Fuzzy Reasoning and Systems Thinking.
Like this entry?
-
About the Entrant
- Name:Ben Zion Khayut
- Type of entry:individual
- Patent status:none

