Speed breakers are used to slow down the vehicles when they approach a crossing or an area which emphasises pedestrian safety. On seeing a speed bump, driver driving vehicle at high speed applies friction brakes to decelerate. As the vehicle rolls over the speed bump, the suspension of the vehicle compresses. This includes compression and extension of spring and damper. Since some of the kinetic energy is converted to potential energy of spring and heat energy of the damper, it leads to further reduction of speed. Many vehicles pass over the speed bumps ranging in weight, number of axles and speed. The potential energy lost in form of potential energy from springs and heat energy through dampers is a potential source of energy lost to the environment.
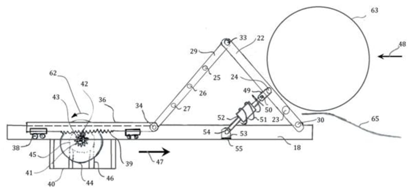
The energy harvesting method provides a mechanism which harnesses the kinetic energy of the vehicle rolling over a bump. The apparatus comprises, amongst other things, a support frame mounted on the road surface, a depressible speed bump, a spring and damper assembly, an energy conversion device and energy storage means. The energy conversion device and the depressible speed bump are mounted on the support frame. The depressible speed bump and the energy conversion device are further connected by mechanism means for transferring movement from former to latter. The spring and damper assembly connects the mechanical speed bump and the support frame.
The speed bump is designed to be a depressible member. When the vehicle wheels roll over the speed bump, the wheels impart force on the speed bump due to the vehicle weight and vehicle linear momentum. The speed bump depresses and transfers movement to the energy conversion device. During this event, the spring and damper assembly goes into compression. The movement of the energy conversion device can generate energy in various forms, which can be stored into different types of energy storage system. Once the front axle wheels pass over, the compressed spring and damper system comes from compression to extension mode. This brings the depressed speed bump back to original orientation. This allows the system to be ready to address the rear axle wheels and capture energy again through the same process. During the braking event while the vehicle rolls over the speed bump, the kinetic energy of the vehicle during roll over the speed bump is dissipated into potential energy of the spring and heat energy of the damper. The energy absorbed by the energy conversion device is just a portion of the vehicle’s kinetic energy. Since this is a flexible speed bump, instead of the vehicle suspension getting depressed, the speed bump depresses and harnesses the potential and heat energy of the suspension. Energy stored in energy storage system can be used to drive other devices. The mechanism can be used at various potential locations like: crossings, areas where pedestrian safety is a must, check posts, entrances to malls, schools and offices, etc. This is a sustainable system and holds a great deal of potential for harnessing waste energy.
Like this entry?
-
About the Entrant
- Name:Abhishek Agarwal
- Type of entry:teamTeam members:Abhishek Agarwal
Anant Puri
Ankit Mahajan
Bharat Bhasin
Sanampreet Singh Sarabha - Software used for this entry:Catia
- Patent status:pending


