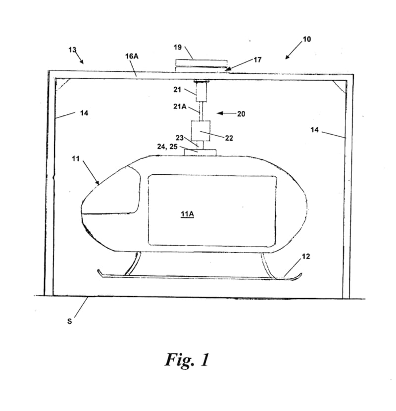
This invention is a training device used to teach military personnel, SWAT teams, firefighters, and other emergency workers how to safely embark and disembark from the skid of a helicopter. It provides the safest and most economical means of teaching this valued skill.
One of the most expedient way to transport law enforcement, SWAT, emergency responders, and military teams to an inaccessible location, such as the top of a building or a location in rugged terrain, is for the team members to step onto the skid of helicopter, be flown to the desired location, and step off the skid onto a suitable surface at the desired location. The process of the team members mounting and dismounting the skid of a hovering airborne helicopter must be done in perfect synchronization; if not, the helicopter may be thrown off balance resulting in a crash.
One of the main reasons skid riding and mounting and dismounting while hovering is not commonly used is because it can only be done by highly skilled individuals and team members that undergo continuous training and practice. The most critical skill required to safely ride a helicopter skid is the ability to perform smooth and coordinated mounting and dismounting maneuvers. This skill requires intensive training and frequent practice.
The intensive training and frequent practice also typically requires ready access to a fully maintained and functioning helicopter manned by a flight crew that also must undergo intensive training to safely and effectively operate the helicopter with a skid riding team.
Although skid riding may be the most expedient and effective ways to transport law
enforcement, SWAT, emergency responders, and military teams in an emergency, it is also requires enormous expenditures in training and equipment. The prohibitive outlays required prevents all but a very few municipalities and organizations from fielding a fully qualified skid riding team. The enormous expense required to train and maintain a skid riding team can be drastically reduced by using a simulator that duplicates the behavior of an airborne helicopter when a team mounts, rides, and dismounts the helicopter.
Like this entry?
-
About the Entrant
- Name:John Hays
- Type of entry:individual
- Patent status:pending


