The design that I am going to explain about is quite simple and also easy to understand. The main purpose of this design is to bring down the overall fuel consumption of the engine and also reduce the pollutants level.
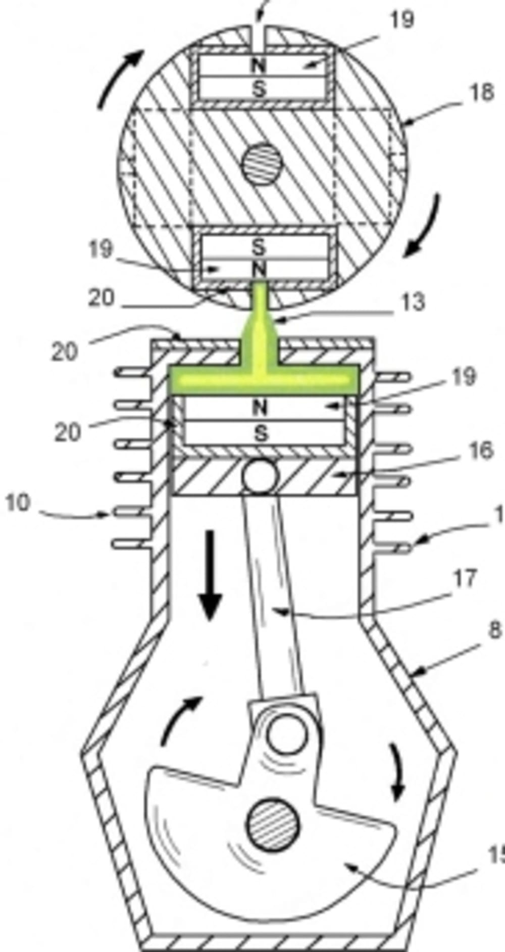
As the title indicates the idea is to bring out the engine design which can run on fuel and also by magnetic repulsion simultaneously. To make this, the engine alterations to be done are ; there must be an electromagnet at the cylinder head connected to the nominal 12V battery through a contact breaker point and transformer. This is to ensure that the electromagnet only get energized at the end of compression stroke and at the beginning of power stroke, exactly at the same time when the fuel is injected into the engine cylinder.
The crown part of the piston must be made of permanent magnet and the rest of the design being the same as the conventional engine.
Coming to the working part, all the strokes takes place exactly as the conventional 4 stroke engines of both petrol and diesel, but at the end of compression stroke both the fuel is injected and the electromagnet is energized which produces enough power to push the piston from TDC to BDC. Batteries are charged by alternators run by engine.
So, as the result of repulsion piston experiences considerable force the fuel injected per stroke can be minimized so that the magnetic repulsion force compensates. The magnetic repulsion engine is the older idea but still unavailable in the market, but this hybrid system is going to be a better technology as there are no compromises on the power output of the engine.
This results in the better fuel efficiency, lesser temperature of the combustion chamber which reduces Nox emission and also due to less burning of fuel all the pollutants are reduced.
The visual illustration that I am uploading is the complete magnetic repulsion piston engine, which is almost same in design but the extra component is the fuel injector.
Like this entry?
-
About the Entrant
- Name:Advaith M S
- Type of entry:individual
- Patent status:none

