While we drive the vehicle in hilly areas and during driving due to any reason we are forced to stop the car and then we apply the hand brakes to hold the vehicle. But the problem is that it locks the vehicle in both directions, so we have to operate accelerator, clutch and brake pedal simultaneously which is tedious and unsafe because every year the majority of accidents that happen in hilly areas are due to stalling of vehicles and inefficient braking. Stalling of vehicle happens due to irregular clutch handling and leads to sudden engine failure. Stalling of vehicle may be very dangerous for cars especially on all hilly terrains.
So, it is necessary to develop a system which can resist a backward motion of a vehicle meanwhile allowing the vehicle to move in forward direction safely without rolling in the reverse.
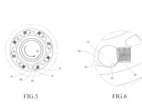
Construction:
Followings are main components of Reverse Lock Braking System:
i. Unidirectional bearing with external teeth
ii. Hydraulic actuator
iii. Drum containing spring and internal teeth
A drum contains an extruded periphery having internal teeth engraved on itaccording to the dimensions of the teeth on the outer surface of the bearing. Rearaxle is having a keyway and it is straight cylindrical shape. A bearing is a type ofroller bearing made of rollers and springs.
Working:
When driver pulls a lever on sloppy area to halt the vehicle, a mastercylinder actuates an end effecter connected to the bearing through a wheel hub. Itengages a bearing having external teeth on its surface to the inner teeth of drumwhich ultimately locks the vehicle or resists the vehicle motion in backwarddirection. As we know that a unidirectional bearing only rotates in one directionso it allows the vehicle to go in forward direction.? Here bearing is pressed against a spring force so when driver push down alever, a spring produce force on a bearing because of that a bearing comes into itsoriginal position and vehicle run in normal condition
Advantages of System :
A vehicle does not roll back on a sloppy area during start which preventsroad accidents
- It is applicable in Automatic as well as Manual transmission
- It provides a driver easy and comfortable driving as one has to operateonly clutch and accelerator pedals only
- Initial and maintenance cost are not high.
- It does not consist any type of sensors so no need to require skilledmanpower or special purpose machine tools.
- No time constraints so a driver can stop a vehicle as long as one requires
- No racing problem.? No irregular brake and clutch handling occurs.
Like this entry?
-
About the Entrant
- Name:Anil Makahaniya
- Type of entry:teamTeam members:Anil Makahaniya
Jay Patel
Harsh Patel
Divyesh Bhatasana - Software used for this entry:Autocad
- Patent status:pending


