The Basketball Pick-Up (BP) Machine is designed and intended for three purposes:
1. As an assistive technology device for basketball players with special needs, who are dependent on moving around the court in wheel chairs during their training.
2. As an educational tool for science teachers instructing students, on the use, construction and application of compound machines.
3. As a toy for entertainment for people of all ages.
If used as an assistive technology device during basketball training, the BP Machine enables the wheelchair bound athlete to pick up and collect multiple basketballs from the surface of the court without the participation of a second party.
The small scale BP Machine, on the other hand, would be a beneficial prop for science teachers trying to educate their student on simple and compound machines, their mechanics and usage. Since this contraption includes a wide spectrum of simple machines: lever, pulley, wheel & axle, inclined plane, and different screws, it may successfully serve as a good example for students in a science classroom.
On even a smaller scale, this device may be used as a toy or a mechanism from a larger game that would allow developing adroitness and improve player’s reaction time. As an exciting activity requires attention and precision skills, it would increase the quality of life for players, by providing a new activity for leisure and entertainment for adults and children.
This absolutely new and useful invention is currently under Patent Pending.
The following is a detailed description of a preferred embodiment, when considered in one photograph of the model and the two of accompanying drawings, as follows:
Fig.1 Front view of BP Machine.
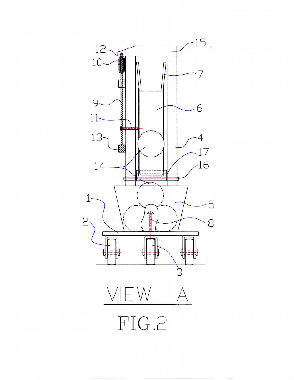
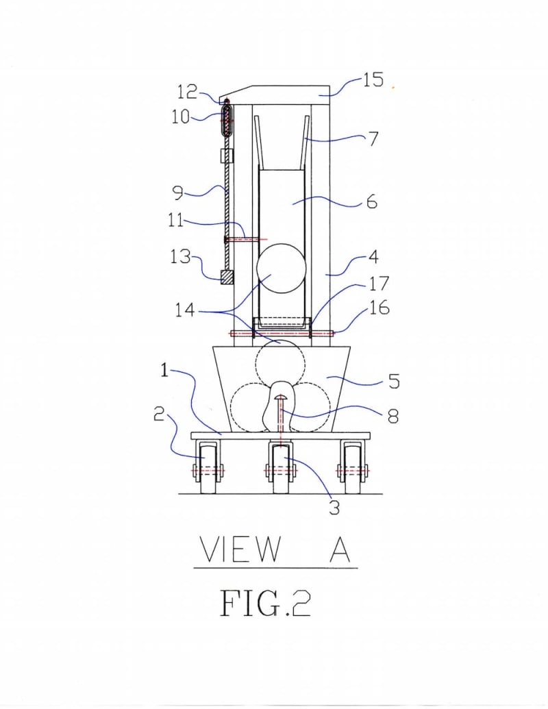
Fig.2 View A (from right side of BP Machine).
The BP Machine comprises:
1 - Platform
2 - Two plain hind wheels
3 - One pivoted fore wheel
4 - Two columns
5 - Container
6, 7 - Lever with two teeth fork
8 - Adjustable bolt
9 - Cord
10 - Pulley
11 - Anchor screw
12 - Fixing screw
13 - Weight
14 - Ball (for example basketball)
15 - Traverse
16 - Axle
17 - Hinge
We expect that the BP Machine can be manufactured in any machine shop, or sports equipment/mechanical toy plant. The mass - producing of our product could also create a lot of new jobs.
Like this entry?
-
About the Entrant
- Name:Bethany Freynk
- Type of entry:individual
- Patent status:pending


