ABSTRACT:
In present scenario we have more challenges with global warming due to pollution from engines being used in industries, automobiles etc. Also the scarcity of fossil fuels has made engineers to focus on alternate. This invention follows the same path in replacing conventional fossil fuel engines.
The invention relates to “Magnetic Engine” which works on magnetic forces developed by set of permanent magnets and electromagnet to power the load. The load may be a locomotive vehicle, pump, generator, lawn mower, golf cart etc. The power generation from magnetic engine gives zero gaseous emission along with efficient production thereby driving global greenery.
FIELD OF INOVATION:
The invention of magnetic engine relates the field of design and manufacturing technology. This works on magnetic forces developed by set of permanent magnets and electromagnet to power the load. The load may be a locomotive vehicle, pump, generator, lawnmower, golf cart etc.
SUMMARY OF INVENTION:
The objective of the invented product “Magnetic Engine” is to replace polluting conventional internal combustion engines which used fossil fuels. The “Magnetic engine” shown in FIG.1 utilises the nature of attraction between unlike poles and nature of repulsion between like magnetic poles. The magnetic pole of permanent magnet on piston crown and magnetic pole of electromagnet situated just after the outer dead center of piston will attract and repel, by which the piston reciprocates within the cylinder. The reciprocating motion is converted into rotary motion by crankshaft connected to pistons by connecting rod. The power available at the crankshaft can be used to drive the load.
Unlike steam engines and internal combustion engines, magnetic engine is environmentally very safe since it does not burn any fuel. Due to the rising fuel costs, environmental issues and diminishing natural fuel reserves, magnetic engine can become a viable alternative to many existing engines.
The uniqueness of this invention comes from the fact that magnetic engine can be effectively integrated with equipments and machines that need engine to perform various tasks and functions. It can work as an automobile engine, aircraft engine, locomotive engine, ship engine, lawnmower engine etc. Further it can also be used to drive the power generators to produce the electricity the use of magnetic engine is limitless when the application area is considered.
BRIEF DESCRIPTION OF THE DRAWINGS:
FIG.1 shows the basic configuration of “Magnetic Engine” with closed loop control.
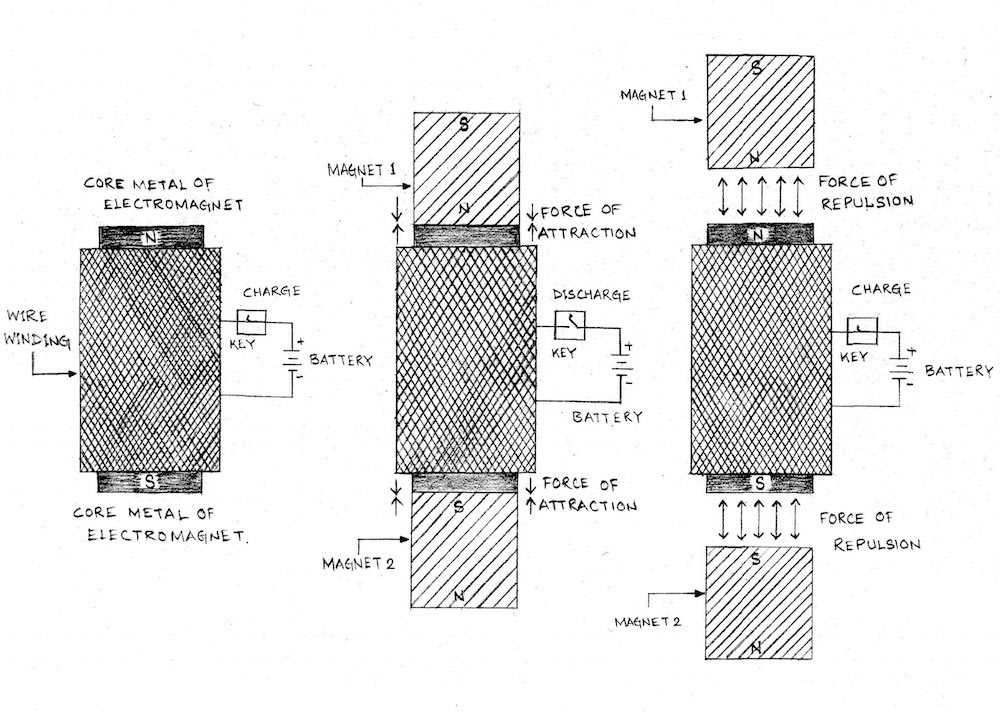
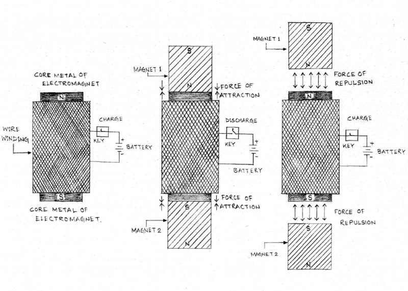
FIG.2.a). shows the electromagnet arrangement and imaginary magnetic pole formation in charged condition.
b). shows the electromagnet and permanent magnets arrangement and position in discharged condition of electromagnet.
c). shows the electromagnets and permanent magnets arrangement and position in charged condition of electromagnet.
FIG.3 shows the cross sectional view of the basic magnetic engine with different position of pistons.
Like this entry?
-
About the Entrant
- Name:Prakash Mahanta
- Type of entry:individual
- Patent status:pending


