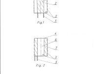
Fiber Optic Photovoltaic Cell of my invention, solves the problem of mismatch layers of different semiconductors, also in real terms, allows you to use part of the long-term solar spectrum. The cell is constructed from semiconductive layers of specified intervals of energy applied to a side surface side by side on the transparent / fibre / core. Ray of light, consisting of many frequencies, bumping into the core of the cell is like fractionally absorbed through the filters, the individual layers of the respective energy gaps .Fiber Optic Photovoltai Cell can have a length from parts of a millimeter to several hundred meters. The individual cells are connected in pv modules with dimensions, for example. 1x2 m, on line, also conceptually developed by me.
Pv fiber optic link will be implemented, also using innovative technology semiconductor, Colloids Quantum Dots
Since the production line pv modules using fiber optic links pv. PV module produces about 2-3 times more efficient conversion automatically our product becomes strongly competitive, since the unit area have 2-3 times more electricity
The cell of my invention in addition to / in the main advantages also has several additional benefits like;
- Less loss of light escaping from the cell
- Easier cooling / can be solved in the form of spatial /, which is very important when concentrate systems, and laser power
- Reeling in the face to the third dimension / cell becomes short-circuited what allows for example. of, 1m3 photovoltaic module, with focused radiation ,, of course, with efficient cooling, even power 100 MWe
- Link my invention allows the real, construction drives powered laser light.
- Allows you to transfer very large energy laser beam while transmission of information / modulation radius /.
Like this entry?
-  About the Entrant
-  Name:Wojciech Zwolak
-  Type of entry:individual
-  Software used for this entry:solid works
-  Patent status:patented


 
    
   
