The Problem:
In 2002, incandescent, inductive ballast fluorescent, HID lamps and resistance heating formed 50% of total grid load and were 100% stabilizing. Induction motors, which have a 60% destabilizing characteristic, formed the remaining 50%. The combined load had a weak 20% net stabilizing characteristic, when averaged over 12 months. Seasonal air conditioning loads degraded the situation. Typical electronic lighting ballasts have a constant power negative resistance characteristic. In the interest of conserving energy, we are eagerly converting all lighting to this 100% destabilizing form.
Grid simulation, utilizing the applicant’s Suppressed Carrier impedance measurement methods, indicates that frequent occurrence of oscillatory instability will cause our power grids to fail when only 25% of the lighting upgrade is completed. Power grids, in developing nations, suffer greatly from oscillatory instability. Oscillatory instability also stresses wind turbine blades, gear trains, and power electronics. The problem is worldwide, but not recognized.
The Solution:
Negative resistance can be converted to positive resistance, while retaining high efficiency and power factor. Applicant’s Patent, US8,996,190B2, describes simple modifications that provide this conversion. In Fig.14, using a process of “accentuation,” the sliding average DC output voltage of the peak detector is reduced by an offset voltage inserted by Zener diode D1. Assuming 120Vrms line voltage, the output of the peak detector would include 167Vdc plus any momentary voltage variations. The voltage following the 119V Zener would include 48Vdc plus the variations. Voltage variations are thereby “accentuated” by a factor of 167/48 = 3.45, relative to 48Vdc. Attenuation makes the Zener output compatible with analog dimming controls. R1 and C2 are optional.
The ballast impedance is converted to positive by the accentuated voltage variations and grid damping will be equal to that of a replaced incandescent lamp, even though the LED consumes only 16% of the incandescent power. Attempts to reduce peak load via grid voltage reduction (brownout), under constant power loading, fail and are counter productive. A 5% voltage reduction makes negative resistance 10% stronger.
Incandescent Lumen output varies as the 3.45 power of line voltage. Fig.12 illustrates this characteristic that is assumed to impose a flicker susceptibility limit. Flicker is undesirable. It is caused by voltage fluctuations induced by incompatible pulsating loads. Grid loads need to be held accountable for their effect on grid stability and power quality
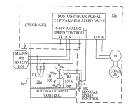
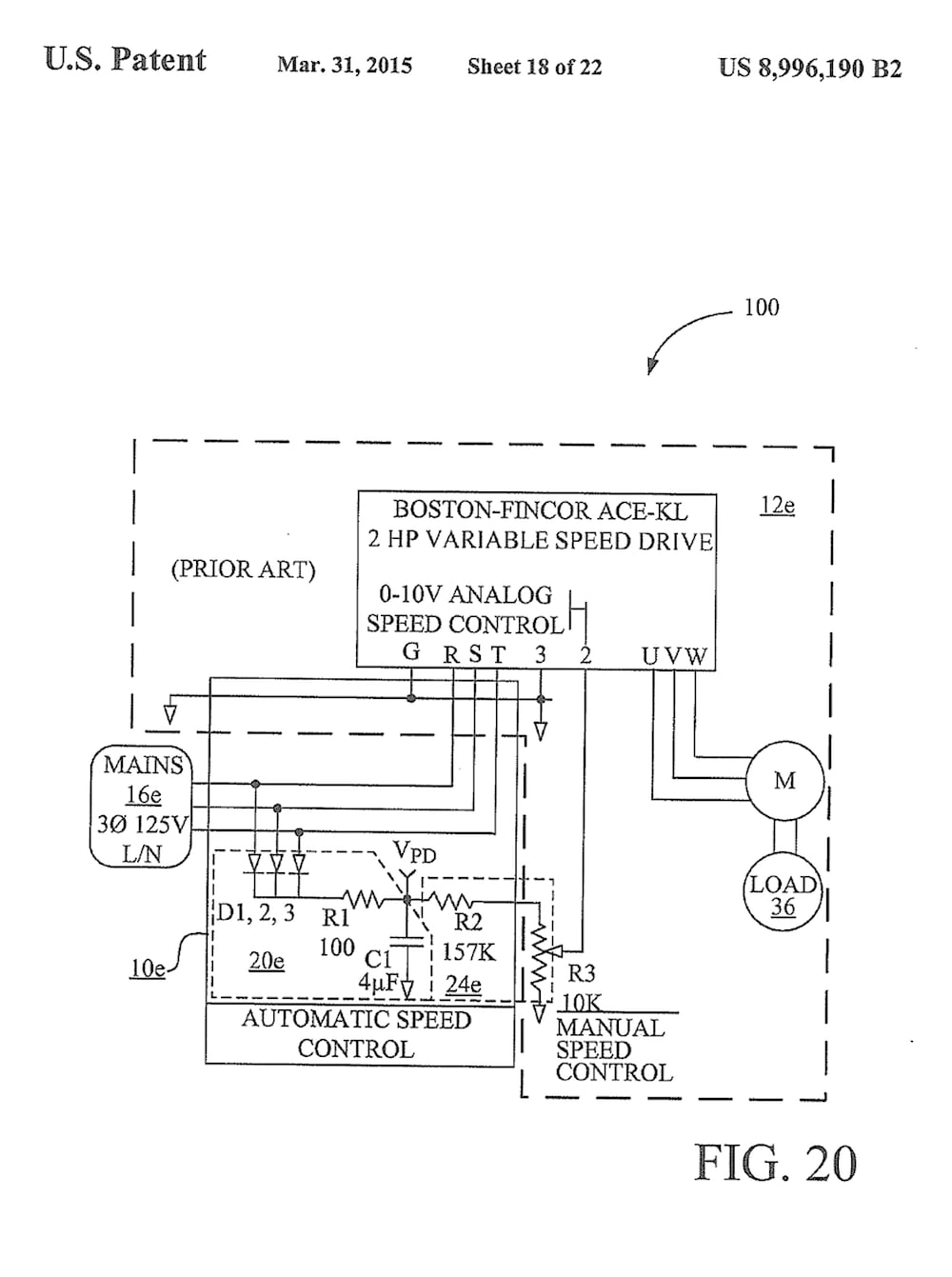
Battery chargers and motor loads, such as HVAC, refrigeration, waste and water pumps, that can achieve major efficiency improvement by employing variable speed drives are prime candidates for the stability modification illustrated in Fig.20. The proposed modifications offer grid stability margins that far exceed the poor margins that exist today.
Other factors:
US Patent Office search identified no significant competing methods.
The more than 7B lamps in the US will require approximately 2B modification units. At a $2.00ea value, the US market would be $4B. Application to VSD’s and battery chargers is estimated at $2B.
Manufacturing may employ discrete components or integrated circuits.
Retrofitting is possible for VSD’s, ballasts with analog dimming, and high power factor battery chargers.
Like this entry?
-
About the Entrant
- Name:Michael Williams
- Type of entry:individual
- Software used for this entry:Intusoft ICAP/4
- Patent status:patented


